Projekty nawet 500 zł taniej ❄️

Koniec oferty za:

00godz.

00min.

00sek.

Sprawdź

Projekt zbiornika WB-3844 KRA3798

Dodano!
Dodano!

Warstwy

Rzut parteru

Powierzchnia (m²)
Tooltip
Powierzchnia pomieszczenia
to ta, z której faktycznie możesz korzystać – skosy i niskie części poddasza są liczone częściowo lub wcale.
  1. 100% dla wysokości powyżej 2,2 m,
  2. 50% dla wysokości 1,4–2,2 m,
  3. nie liczymy poniżej 1,4 m.

Powierzchnia podłogi
Liczymy po obrysie pomieszczenia, bez względu na jego wysokość/skosy. Jeśli nie ma skosów to powierzchnia podłogi i pomieszczenia jest taka sama.
pomieszczenia
podłogi

    Usytuowanie na działce

    Czy ten projekt pasuje na
    Twoją działkę?

    Chętnie to sprawdzimy!

    Dowiedz się:

    • czy zmieści się na niej wybrany przez Ciebie dom
    • jakie parametry musi spełniać dom według miejscowego planu zagospodarowania lub warunków zabudowy (np. kąt nachylenia i typ dachu, liczba kondygnacji itp.
    • jakie inne projekty pasują na Twoją działkę – znajdziemy je dla Ciebie!

Pokoje

0

Łazienki i WC

0

Garaż

0

Kąt dachu

Konstrukcja

Nd.
więcej

WB-3844 - KRA3798

ikona0
Pokoje (bez salonu)
ikona 0
Łazienki (z toaletami)
ikona 0
Liczba stanowisk garażowych
(z wiatą garażową)
ikona
Konstrukcja: Nd.

Projekt został
wycofany z oferty

W razie pytań prosimy o kontakt
z Centrum Obsługi Klienta
Konsultant Masz pytania?
Zadzwoń
71 715 20 60

pon.-pt. 8-21, sob. 9-17

Parter - 0 m²

Parter projektu WB-3844

Zapytaj, co możesz zmienić

Powierzchnia (m²)
Tooltip
Powierzchnia pomieszczenia
to ta, z której faktycznie możesz korzystać – skosy i niskie części poddasza są liczone częściowo lub wcale.
  1. 100% dla wysokości powyżej 2,2 m,
  2. 50% dla wysokości 1,4–2,2 m,
  3. nie liczymy poniżej 1,4 m.

Powierzchnia podłogi
Liczymy po obrysie pomieszczenia, bez względu na jego wysokość/skosy. Jeśli nie ma skosów to powierzchnia podłogi i pomieszczenia jest taka sama.
pomieszczenia
podłogi

Podobne projekty (13)

Zobacz wszystkie
Zdjęcie 1 projektu WB-3817 KRA3793
WB-3817
Dodano!
Dodano!
0 m²
0
0
0

800 zł

Zdjęcie 1 projektu WB-5718 KRA3808
WB-5718
Dodano!
Dodano!
12 m²
0
0
0

800 zł

Zdjęcie 1 projektu WB-4919 KRA3458
WB-4919
Dodano!
Dodano!
0 m²
0
0
0

800 zł

Zdjęcie 1 projektu WB-3893 KRA3580
WB-3893
Dodano!
Dodano!
0 m²
0
0
0

800 zł

Zdjęcie 1 projektu WB-3843 KRA3797
WB-3843
Dodano!
Dodano!
0 m²
0
0
0

800 zł

Zdjęcie 1 projektu WB-3894 KRA3801
WB-3894
Dodano!
Dodano!
216 m²
0
0
0

800 zł

Zdjęcie 1 projektu WB-3896 KRA3803
WB-3896
Dodano!
Dodano!
0 m²
0
0
0

800 zł

Zdjęcie 1 projektu WB-4920 KRA3804
WB-4920
Dodano!
Dodano!
0 m²
0
0
0

800 zł

Przekroje

Przekrój pionowy
Autor: Agrobisp

Dane techniczne projektu

Powierzchnie i wymiary Powierzchnie i wymiary

Kąt nachylenia dachu
Tooltip
Nachylenie połaci dachu głównego podawane w stopniach. Uwaga! W niektórych projektach występuje więcej niż jedno nachylenie dachu.

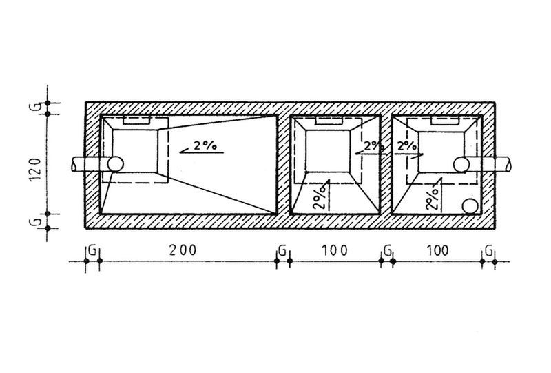
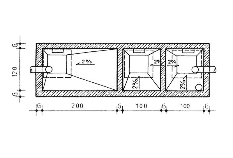
Opis projektu zbiornika
WB-3844

Projekt zbiornika nieprzejazdowego - zbiornik podziemny, trzykomorowy monolityczny lub z prefabrykowanych kręgów o średnicy 140 cm.
Czytaj więcej

Polecani producenci

Prefabrykowane konstrukcje dachowe

tło producenta

WIĄZAR POLSKA

Zobacz więcej

Sprawdź nową generację okien GREENVIEW

tło producenta

FAKRO

Sprawdź nową generację okien GREENVIEW

Styropian, tynki, farby, kleje

tło producenta

Termo Organika

Poznaj super jakość

Okna, drzwi, osłony przeciwsłoneczne

tło producenta

Aluprof

Sprawdź ofertę

Kompletne systemy rekuperacji

tło producenta

Alnor

Dowiedz się więcej

Sprawdź nowy system DACHRYNNA

tło producenta

Galeco

Sprawdź ofertę
Zobacz więcej

Społeczność projektu zbiornika
WB-3844 w budowie

Dołącz do społeczności osób, które budują ten dom lub są zainteresowane jego budową.

  • Oglądaj zdjęcia z budowy
  • Zadawaj pytania
  • Wymieniaj się doświadczeniami

Opinie o projekcie zbiornika WB-3844

Ocena

Ten projekt nie ma jeszcze opinii, bądź pierwszy!

Dodaj opinię

ASYSTENT WYBORU PROJEKTU

Szukasz idealnego projektu? Znajdziemy go dla Ciebie!

Doradca na podstawie Twoich wskazówek przygotuje spersonalizowaną listę projektów

Graficzne opracowanie rzutów poglądowych widocznych na karcie projektu zostało wykonane przez Extradom.pl. Prezentowane przez Extradom.pl wizualizacje wykonane zostały przez autora projektu i należy poczytywać je jedynie za przykład i propozycję wykończenia, wizję architektoniczną autora projektu. Ostateczne wykończenie budynku może nastąpić na wiele sposobów. Szczegółowe rozwiązania zastosowane w oferowanej dokumentacji - w tym również ilość, lokalizacje i wygląd okien, drzwi, kominów - mogą w niewielkim stopniu różnić się od prezentowanej wizualizacji budynku.

REKLAMA
Zamknij