Projekty nawet 500 zł taniej ❄️

Koniec oferty za:

0dni

00godz.

00min.

00sek.

Sprawdź

Projekt domu Wega II bez garażu [B] WRF2076

Dodano!
Dodano!

Warstwy

Warstwy

Rzut parteru

Powierzchnia (m²)
Tooltip
Powierzchnia pomieszczenia
to ta, z której faktycznie możesz korzystać – skosy i niskie części poddasza są liczone częściowo lub wcale.
  1. 100% dla wysokości powyżej 2,2 m,
  2. 50% dla wysokości 1,4–2,2 m,
  3. nie liczymy poniżej 1,4 m.

Powierzchnia podłogi
Liczymy po obrysie pomieszczenia, bez względu na jego wysokość/skosy. Jeśli nie ma skosów to powierzchnia podłogi i pomieszczenia jest taka sama.
pomieszczenia i podłogi
podłogi
1. Wiatrołap
3,70
2. Korytarz
8,20
3. Wc
2,80
4. Schody
4,10
5. Pokój + garderoba
13,60
6. Łazienka
2,70
7. Pokój dzienny + jadalnia
27,50
8. Kuchnia + spiżarnia
12,60
9. Kotłownia
10,50
Razem
85,70
85,70
Powierzchnia (m²)
Tooltip
Powierzchnia pomieszczenia
to ta, z której faktycznie możesz korzystać – skosy i niskie części poddasza są liczone częściowo lub wcale.
  1. 100% dla wysokości powyżej 2,2 m,
  2. 50% dla wysokości 1,4–2,2 m,
  3. nie liczymy poniżej 1,4 m.

Powierzchnia podłogi
Liczymy po obrysie pomieszczenia, bez względu na jego wysokość/skosy. Jeśli nie ma skosów to powierzchnia podłogi i pomieszczenia jest taka sama.
pomieszczenia
podłogi
10. Hall
8,80
12,60
11. Łazienka
12,90
17,10
12. Pokój
14,70
18,90
13. Pokój
23
29,50
14. Pokój
18,40
22,50
15. Łazienka
3,20
3,20
Razem
81
103,80

    Usytuowanie na działce

    Czy ten projekt pasuje na
    Twoją działkę?

    Chętnie to sprawdzimy!

    Dowiedz się:

    • czy zmieści się na niej wybrany przez Ciebie dom
    • jakie parametry musi spełniać dom według miejscowego planu zagospodarowania lub warunków zabudowy (np. kąt nachylenia i typ dachu, liczba kondygnacji itp.
    • jakie inne projekty pasują na Twoją działkę – znajdziemy je dla Ciebie!

Pow. użytkowa

156,10 m²

Pokoje

4

Łazienki i WC

4

Garaż

0

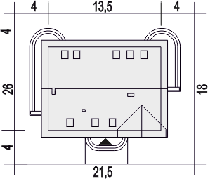
Min. szer. i dł. działki

21,5 x 18 m

Kąt dachu

40°

Konstrukcja

Murowana
więcej

Wega II bez garażu [B] - WRF2076

ikona 156,10 m²
Powierzchnia użytkowa
ikona4
Pokoje (bez salonu)
ikona 4
Łazienki (z toaletami)
ikona 0
Liczba stanowisk garażowych
(z wiatą garażową)
ikona
Konstrukcja: Murowana

Projekt został
wycofany z oferty

W razie pytań prosimy o kontakt
z Centrum Obsługi Klienta
Konsultant Masz pytania?
Zadzwoń
71 715 20 60

pon.-pt. 8-21, sob. 9-17

Parter - 85,70 m²

Parter projektu Wega II bez garażu [B]

Zapytaj, co możesz zmienić

Powierzchnia (m²)
Tooltip
Powierzchnia pomieszczenia
to ta, z której faktycznie możesz korzystać – skosy i niskie części poddasza są liczone częściowo lub wcale.
  1. 100% dla wysokości powyżej 2,2 m,
  2. 50% dla wysokości 1,4–2,2 m,
  3. nie liczymy poniżej 1,4 m.

Powierzchnia podłogi
Liczymy po obrysie pomieszczenia, bez względu na jego wysokość/skosy. Jeśli nie ma skosów to powierzchnia podłogi i pomieszczenia jest taka sama.
pomieszczenia i podłogi
podłogi
1. Wiatrołap
3,70
2. Korytarz
8,20
3. Wc
2,80
4. Schody
4,10
5. Pokój + garderoba
13,60
6. Łazienka
2,70
7. Pokój dzienny + jadalnia
27,50
8. Kuchnia + spiżarnia
12,60
9. Kotłownia
10,50
Razem
85,70
85,70

Poddasze - 81 m²

Poddasze projektu Wega II bez garażu [B]

Zapytaj, co możesz zmienić

Powierzchnia (m²)
Tooltip
Powierzchnia pomieszczenia
to ta, z której faktycznie możesz korzystać – skosy i niskie części poddasza są liczone częściowo lub wcale.
  1. 100% dla wysokości powyżej 2,2 m,
  2. 50% dla wysokości 1,4–2,2 m,
  3. nie liczymy poniżej 1,4 m.

Powierzchnia podłogi
Liczymy po obrysie pomieszczenia, bez względu na jego wysokość/skosy. Jeśli nie ma skosów to powierzchnia podłogi i pomieszczenia jest taka sama.
pomieszczenia
podłogi
10. Hall
8,80
12,60
11. Łazienka
12,90
17,10
12. Pokój
14,70
18,90
13. Pokój
23
29,50
14. Pokój
18,40
22,50
15. Łazienka
3,20
3,20
Razem
81
103,80

Podobne projekty (7121)

Zobacz wszystkie
Zdjęcie 1 projektu HG-I22A KRM1099
HG-I22A
Dodano!
Dodano!
146,70 m²
4
3
2

4 250 zł

NIŻSZA CENA❄️
Zdjęcie 1 projektu Domidea 60 dG WAC1028
Domidea 60 dG
Dodano!
Dodano!
125,43 m²
4
3
1

5 358 zł

5 658 zł

Tooltip

Cena regularna

5 358 zł najniższa cena
Tooltip

Najniższa cena z 30 dni
przed obniżką

Nowość
Zdjęcie 1 projektu APS 289 + 2G ECO LUA1673
APS 289 + 2G ECO
Dodano!
Dodano!
124,10 m²
4
2
2

5 699 zł

Zdjęcie 1 projektu Nasza Stodoła M KRY1000
Nasza Stodoła M
Dodano!
Dodano!
161,70 m²
5
3
1

6 000 zł

Nowość
Zdjęcie 1 projektu APS 184 NEW ECO LUA1677
APS 184 NEW ECO
Dodano!
Dodano!
132,20 m²
4
2
1

4 699 zł

NIŻSZA CENA❄️
Zdjęcie 1 projektu Party 2 WAH1719
Party 2
Dodano!
Dodano!
130,21 m²
4
3
2

5 000 zł

6 250 zł

Tooltip

Cena regularna

4 687 zł najniższa cena
Tooltip

Najniższa cena z 30 dni
przed obniżką

NIŻSZA CENA❄️
Zdjęcie 1 projektu Domidea 50 d40 w4 WAC1010
Domidea 50 d40 w4
Dodano!
Dodano!
126,70 m²
4
3
1

5 112 zł

5 412 zł

Tooltip

Cena regularna

5 112 zł najniższa cena
Tooltip

Najniższa cena z 30 dni
przed obniżką

NIŻSZA CENA❄️
Zdjęcie 1 projektu Jadzia Atu (1875) KRD3021
Jadzia Atu (1875)
Dodano!
Dodano!
147,10 m²
5
3
0

4 540 zł

4 890 zł

Tooltip

Cena regularna

4 340 zł najniższa cena
Tooltip

Najniższa cena z 30 dni
przed obniżką

Elewacje

Frontowa
Tylna
Lewa
Prawa

Usytuowanie na działce

Czy ten projekt pasuje na
Twoją działkę?

Chętnie to sprawdzimy!

Czy ten projekt pasuje na
Twoją działkę?

Chętnie to sprawdzimy!

Dowiedz się:

  • czy zmieści się na niej wybrany przez Ciebie dom
  • jakie parametry musi spełniać dom według miejscowego planu zagospodarowania lub warunków zabudowy (np. kąt nachylenia i typ dachu, liczba kondygnacji itp.
  • jakie inne projekty pasują na Twoją działkę – znajdziemy je dla Ciebie!
Autor: Archeco Dom dla Ciebie

Dane techniczne projektu

Powierzchnie i wymiary Powierzchnie i wymiary

Powierzchnia użytkowa
Tooltip
Suma powierzchni wszystkich pomieszczeń mieszkalnych, pomniejszona o pow. garażu, kotłowni, strychu, piwnicy. Jest liczona w 100% dla pomieszczeń o wysokości powyżej 2,2 m, w 50% dla pomieszczeń o wys. 2,2-1,4 m i niewliczana dla niższych niż 1,4 m.

156,10 m²

Wysokość ściany kolankowej
Tooltip
Wysokość ściany podpierającej dach. Jej wysokość wpływa na powierzchnię użytkową kondygnacji, na której się znajduje.

0,92 m

Powierzchnia zabudowy
Tooltip
Powierzchnia zajmowana przez część na- oraz nadziemną budynku liczona, jako rzut pionowy budynku na działkę.

134 m²

Powierzchnia netto
Tooltip
Powierzchna wszystkich pomieszczeń w budynku mierzona na wysokości podłogi.

189,50 m²

Powierzchnia dachu

226,20 m²

Kąt nachylenia dachu
Tooltip
Nachylenie połaci dachu głównego podawane w stopniach. Uwaga! W niektórych projektach występuje więcej niż jedno nachylenie dachu.

40°

Wysokość budynku
Tooltip
Wysokość liczona od części budynku położonej najniżej przy powierzchni terenu do najwyższego punktu dachu (kalenicy) z wyłączeniem kominów.

8,90 m

Min. szerokość działki
Tooltip
Najmniejsza możliwa szerokość działki niezbędna do wybudowania wybranego domu. Składa się z szerokości elewacji domu powiększonej z obu stron o 3 m dla ściany bez otworów drzwiowych/okiennych lub 4 m, dla ściany z otworami.

21,50 m

Min. długość działki
Tooltip
Najmniejsza możliwa długość działki niezbędna do wybudowania wybranego domu. Składa się z długości elewacji domu powiększonej z obu stron o 3 m dla ściany bez otworów drzwiowych/okiennych lub 4 m, dla ściany z otworami.

18 m

Energooszczędność Energooszczędność

Oze Czym jest OZE (Odnawialne Źródło Energii)?
Ogrzewanie główne

Gazowe - szczegóły

Interesuje Cię inne źródło ogrzewania? Wyślij zapytanie lub zadzwoń do doradcy

Wentylacja

Grawitacyjna - szczegóły

Instalacje w projekcie

Ogrzewanie kominkowe z płaszczem wodnym

Warunki techniczne

Projekt zgody z WT 2021

Technologia i konstrukcja Technologia i konstrukcja

Konstrukcja

Murowana

Opis szczegółowy

Fundamenty: betonowe. Ściany: porotherm+styropian. Rodzaj stropu: teriva i. Elewacje: tynk strukturalny. Pokrycie dachu: dachówka cem. lub cer.

Strop

Gęstożebrowy

Reklama
Okna i drzwi tarasowe

Nowoczesne okna PVC i aluminiowe WIŚNIOWSKI – doskonała izolacja, elegancki design i niezrównana trwałość.

Wiśniowski
Sprawdź parametry!
Okna dachowe

Oferujemy bezpłatne konsultacje w zakresie wszystkich rozwiązań VELUX. Wyceny, porady dotyczące doboru okien i rolet zewnętrznych - sprawdź!

Velux
Sprawdź szczegóły
Płytki ceramiczne i gresy

Od małych formatów po wielkoformatowe gresy. Marmur, beton, drewno, kamień, lastryko czy cegiełki zamówisz wygodnie online z szybką dostawą.

Ceramzet
Sprawdź ofertę
Drzwi

Ciepłe drzwi WIŚNIOWSKI z kontrolą dostępu. Szeroka gama wzorów i kolorów.

Wiśniowski
Wybierz najlepsze
Bramy garażowe

Automatyczne bramy garażowe segmentowe i uchylne WIŚNIOWSKI na wymiar i z systemem smart home w standardzie.

Wiśniowski
Sprawdź ofertę!
Armatura i ceramika łazienkowa

Topowi producenci. Baterie łazienkowe, zestawy natynkowe i podtynkowe, umywalki, wanny, miski WC oraz kabiny zamówisz kompleksowo online.

Ceramzet II
Dowiedz się więcej
Rekuperacja

Alnor - kompletny system rekuperacji. Dobierz idealne rozwiązanie dla Twojego domu!

Alnor
Dobierz rekuperator
Gruntowe pompy ciepła

Przeprowadzimy kompletną instalację najbardziej oszczędnego źródła ciepła w Twoim nowym domu - gruntowej pompy ciepła. Od dokumentacji, pozwoleń, po odwierty i instalację.

Geothermal Solutions
Dowiedz się więcej

Gotowe domy modułowe (114)

Zobacz wszystkie
Stan deweloperski nawet w 6 miesięcy Gwarancja stałej ceny
Zdjęcie 1 projektu Dom prefabrykowany P.2 HPK1001
Pow. użytkowa
159,18 m²
Pokoje
5
832 200 zł 5 228 zł/m²
Zdjęcie 1 projektu Dom prefabrykowany Stodoła 150C HFX1026
Pow. użytkowa
152,90 m²
Pokoje
5
589 000 zł 3 852 zł/m²
Zdjęcie 1 projektu Dom prefabrykowany Stodoła 150A HFX1024
Pow. użytkowa
152,20 m²
Pokoje
5
589 000 zł 3 870 zł/m²
Zdjęcie 1 projektu Dom prefabrykowany Stodoła 150B HFX1025
Pow. użytkowa
151,30 m²
Pokoje
4
589 000 zł 3 893 zł/m²
Zdjęcie 1 projektu Dom prefabrykowany P.4 bez okapu HPK1003
Pow. użytkowa
162,18 m²
Pokoje
4
701 000 zł 4 322 zł/m²
Zdjęcie 1 projektu Dom prefabrykowany P.4 z okapem HPK1014
Pow. użytkowa
162,18 m²
Pokoje
5
710 500 zł 4 381 zł/m²
Zdjęcie 1 projektu Dom prefabrykowany DH174 HDH1009
Pow. użytkowa
162,97 m²
Pokoje
4
1 026 000 zł 5 796 zł/m²
Zdjęcie 1 projektu Dom szkieletowy Viking Smart 220 HHT1032
Pow. użytkowa
163,86 m²
Pokoje
4
1 095 606 zł 6 686 zł/m²

Opis projektu domu
Wega II bez garażu [B]

Projekt domu z poddaszem Wega II bez garażu [B] z dachem dwuspadowym, tarasem.
Czytaj więcej

Informacje dodatkowe

Projekt jest w fazie koncepcji. Przy zakupie projektu należy zapłacić 35% zaliczki. Zaliczka jest bezzwrotna w przypadku zwrotu lub rezygnacji z zamówienia.

Czytaj więcej

Polecani producenci

Prefabrykowane konstrukcje dachowe

tło producenta

WIĄZAR POLSKA

Zobacz więcej

Sprawdź nową generację okien GREENVIEW

tło producenta

FAKRO

Sprawdź nową generację okien GREENVIEW

Styropian, tynki, farby, kleje

tło producenta

Termo Organika

Poznaj super jakość

Okna, drzwi, osłony przeciwsłoneczne

tło producenta

Aluprof

Sprawdź ofertę

Kompletne systemy rekuperacji

tło producenta

Alnor

Dowiedz się więcej

Sprawdź nowy system DACHRYNNA

tło producenta

Galeco

Sprawdź ofertę
Zobacz więcej

Społeczność projektu domu
Wega II bez garażu [B] w budowie

Dołącz do społeczności osób, które budują ten dom lub są zainteresowane jego budową.

  • Oglądaj zdjęcia z budowy
  • Zadawaj pytania
  • Wymieniaj się doświadczeniami

Opinie o projekcie domu Wega II bez garażu [B]

Ocena

Ten projekt nie ma jeszcze opinii, bądź pierwszy!

Dodaj opinię

ASYSTENT WYBORU PROJEKTU

Szukasz idealnego projektu? Znajdziemy go dla Ciebie!

Doradca na podstawie Twoich wskazówek przygotuje spersonalizowaną listę projektów

Graficzne opracowanie rzutów poglądowych widocznych na karcie projektu zostało wykonane przez Extradom.pl. Prezentowane przez Extradom.pl wizualizacje wykonane zostały przez autora projektu i należy poczytywać je jedynie za przykład i propozycję wykończenia, wizję architektoniczną autora projektu. Ostateczne wykończenie budynku może nastąpić na wiele sposobów. Szczegółowe rozwiązania zastosowane w oferowanej dokumentacji - w tym również ilość, lokalizacje i wygląd okien, drzwi, kominów - mogą w niewielkim stopniu różnić się od prezentowanej wizualizacji budynku.

REKLAMA
Zamknij