Projekty nawet 500 zł taniej ❄️

Koniec oferty za:

0dni

00godz.

00min.

00sek.

Sprawdź

Projekt domu Pluton II Plus WRH1143

Dodano!
Dodano!

Warstwy

Warstwy

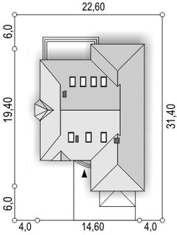
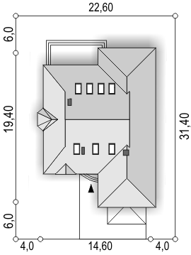
Rzut parteru

Powierzchnia (m²)
Tooltip
Powierzchnia pomieszczenia
to ta, z której faktycznie możesz korzystać – skosy i niskie części poddasza są liczone częściowo lub wcale.
  1. 100% dla wysokości powyżej 2,2 m,
  2. 50% dla wysokości 1,4–2,2 m,
  3. nie liczymy poniżej 1,4 m.

Powierzchnia podłogi
Liczymy po obrysie pomieszczenia, bez względu na jego wysokość/skosy. Jeśli nie ma skosów to powierzchnia podłogi i pomieszczenia jest taka sama.
pomieszczenia i podłogi
podłogi
1. Wiatrołap
5,81
2. Pokój dzienny + jadalnia
47,89
3. Kuchnia
12,28
4. Spiżarnia
2,48
5. Hall
18,27
6. Wc
2,05
7. Pomieszczenie gospodarcze
5,43
8. Pomieszczenie gospodarcze
3,58
9. Pokój
11,71
10. Łazienka
7,66
11. Pokój
17,88
12. Garaż jednostanowiskowy
29,52
Razem
164,56
164,56
Powierzchnia (m²)
Tooltip
Powierzchnia pomieszczenia
to ta, z której faktycznie możesz korzystać – skosy i niskie części poddasza są liczone częściowo lub wcale.
  1. 100% dla wysokości powyżej 2,2 m,
  2. 50% dla wysokości 1,4–2,2 m,
  3. nie liczymy poniżej 1,4 m.

Powierzchnia podłogi
Liczymy po obrysie pomieszczenia, bez względu na jego wysokość/skosy. Jeśli nie ma skosów to powierzchnia podłogi i pomieszczenia jest taka sama.
pomieszczenia i podłogi
podłogi
1. Hall
7,46
2. Łazienka
4,79
3. Pokój
13,95
4. Pokój
13,71
Razem
39,91
39,91

    Usytuowanie na działce

    Czy ten projekt pasuje na
    Twoją działkę?

    Chętnie to sprawdzimy!

    Dowiedz się:

    • czy zmieści się na niej wybrany przez Ciebie dom
    • jakie parametry musi spełniać dom według miejscowego planu zagospodarowania lub warunków zabudowy (np. kąt nachylenia i typ dachu, liczba kondygnacji itp.
    • jakie inne projekty pasują na Twoją działkę – znajdziemy je dla Ciebie!

Pow. użytkowa

174,83 m²

Pokoje

4

Łazienki i WC

3

Garaż

1

Min. szer. i dł. działki

22,6 x 31,40 m

Kąt dachu

35°

Konstrukcja

Murowana
więcej

Pluton II Plus - WRH1143

ikona 174,83 m²
Powierzchnia użytkowa
ikona4
Pokoje (bez salonu)
ikona 3
Łazienki (z toaletami)
ikona 1
Liczba stanowisk garażowych
(z wiatą garażową)
ikona
Konstrukcja: Murowana

Projekt został
wycofany z oferty

W razie pytań prosimy o kontakt
z Centrum Obsługi Klienta
Konsultant Masz pytania?
Zadzwoń
71 715 20 60

pon.-pt. 8-21, sob. 9-17

Parter - 164,56 m²

Parter projektu Pluton II Plus

Zapytaj, co możesz zmienić

Powierzchnia (m²)
Tooltip
Powierzchnia pomieszczenia
to ta, z której faktycznie możesz korzystać – skosy i niskie części poddasza są liczone częściowo lub wcale.
  1. 100% dla wysokości powyżej 2,2 m,
  2. 50% dla wysokości 1,4–2,2 m,
  3. nie liczymy poniżej 1,4 m.

Powierzchnia podłogi
Liczymy po obrysie pomieszczenia, bez względu na jego wysokość/skosy. Jeśli nie ma skosów to powierzchnia podłogi i pomieszczenia jest taka sama.
pomieszczenia i podłogi
podłogi
1. Wiatrołap
5,81
2. Pokój dzienny + jadalnia
47,89
3. Kuchnia
12,28
4. Spiżarnia
2,48
5. Hall
18,27
6. Wc
2,05
7. Pomieszczenie gospodarcze
5,43
8. Pomieszczenie gospodarcze
3,58
9. Pokój
11,71
10. Łazienka
7,66
11. Pokój
17,88
12. Garaż jednostanowiskowy
29,52
Razem
164,56
164,56

Poddasze - 39,91 m²

Poddasze projektu Pluton II Plus

Zapytaj, co możesz zmienić

Powierzchnia (m²)
Tooltip
Powierzchnia pomieszczenia
to ta, z której faktycznie możesz korzystać – skosy i niskie części poddasza są liczone częściowo lub wcale.
  1. 100% dla wysokości powyżej 2,2 m,
  2. 50% dla wysokości 1,4–2,2 m,
  3. nie liczymy poniżej 1,4 m.

Powierzchnia podłogi
Liczymy po obrysie pomieszczenia, bez względu na jego wysokość/skosy. Jeśli nie ma skosów to powierzchnia podłogi i pomieszczenia jest taka sama.
pomieszczenia i podłogi
podłogi
1. Hall
7,46
2. Łazienka
4,79
3. Pokój
13,95
4. Pokój
13,71
Razem
39,91
39,91

Podobne projekty (6743)

Zobacz wszystkie
NIŻSZA CENA❄️
Zdjęcie 1 projektu Hiacynt 3 WAH2057
Hiacynt 3
Dodano!
Dodano!
156,83 m²
4
3
2

6 360 zł

7 950 zł

Tooltip

Cena regularna

5 962 zł najniższa cena
Tooltip

Najniższa cena z 30 dni
przed obniżką

Nowość
Zdjęcie 1 projektu NewHouse 790 w3 KRZ1136
NewHouse 790 w3
Dodano!
Dodano!
172,58 m²
4
3
2

6 590 zł

NIŻSZA CENA❄️
Zdjęcie 1 projektu AJR_07_A2 WOJ1014
AJR_07_A2
Dodano!
Dodano!
149 m²
3
2
2

4 600 zł

4 900 zł

Tooltip

Cena regularna

4 500 zł najniższa cena
Tooltip

Najniższa cena z 30 dni
przed obniżką

Zdjęcie 1 projektu Elsa 2b klasyk WRD3137
Elsa 2b klasyk
Dodano!
Dodano!
156,90 m²
5
3
1

4 700 zł

NIŻSZA CENA❄️
Zdjęcie 1 projektu Hiacynt 6 WAH2060
Hiacynt 6
Dodano!
Dodano!
181,34 m²
4
3
2

7 000 zł

8 750 zł

Tooltip

Cena regularna

6 562 zł najniższa cena
Tooltip

Najniższa cena z 30 dni
przed obniżką

NIŻSZA CENA❄️
Zdjęcie 1 projektu Salsa WAH1726
Salsa
Dodano!
Dodano!
158,62 m²
5
3
2

5 720 zł

7 150 zł

Tooltip

Cena regularna

5 362 zł najniższa cena
Tooltip

Najniższa cena z 30 dni
przed obniżką

NIŻSZA CENA❄️
Zdjęcie 1 projektu Decyma 7 BSA2086
Decyma 7
Dodano!
Dodano!
154,23 m²
4
3
1

4 949 zł

5 449 zł

Tooltip

Cena regularna

4 949 zł najniższa cena
Tooltip

Najniższa cena z 30 dni
przed obniżką

NIŻSZA CENA❄️
Zdjęcie 1 projektu Rufus BBI1018
Rufus
Dodano!
Dodano!
183,70 m²
3
3
0

6 500 zł

6 800 zł

Tooltip

Cena regularna

6 350 zł najniższa cena
Tooltip

Najniższa cena z 30 dni
przed obniżką

Elewacje

Frontowa
Tylna
Lewa
Prawa

Usytuowanie na działce

Czy ten projekt pasuje na
Twoją działkę?

Chętnie to sprawdzimy!

Czy ten projekt pasuje na
Twoją działkę?

Chętnie to sprawdzimy!

Dowiedz się:

  • czy zmieści się na niej wybrany przez Ciebie dom
  • jakie parametry musi spełniać dom według miejscowego planu zagospodarowania lub warunków zabudowy (np. kąt nachylenia i typ dachu, liczba kondygnacji itp.
  • jakie inne projekty pasują na Twoją działkę – znajdziemy je dla Ciebie!
Autor: Domus

Dane techniczne projektu

Powierzchnie i wymiary Powierzchnie i wymiary

Powierzchnia użytkowa
Tooltip
Suma powierzchni wszystkich pomieszczeń mieszkalnych, pomniejszona o pow. garażu, kotłowni, strychu, piwnicy. Jest liczona w 100% dla pomieszczeń o wysokości powyżej 2,2 m, w 50% dla pomieszczeń o wys. 2,2-1,4 m i niewliczana dla niższych niż 1,4 m.

174,83 m²

Powierzchnia zabudowy
Tooltip
Powierzchnia zajmowana przez część na- oraz nadziemną budynku liczona, jako rzut pionowy budynku na działkę.

206,90 m²

Powierzchnia dachu

303,43 m²

Kąt nachylenia dachu
Tooltip
Nachylenie połaci dachu głównego podawane w stopniach. Uwaga! W niektórych projektach występuje więcej niż jedno nachylenie dachu.

35°

Wysokość budynku
Tooltip
Wysokość liczona od części budynku położonej najniżej przy powierzchni terenu do najwyższego punktu dachu (kalenicy) z wyłączeniem kominów.

7,62 m

Min. szerokość działki
Tooltip
Najmniejsza możliwa szerokość działki niezbędna do wybudowania wybranego domu. Składa się z szerokości elewacji domu powiększonej z obu stron o 3 m dla ściany bez otworów drzwiowych/okiennych lub 4 m, dla ściany z otworami.

22,60 m

Min. długość działki
Tooltip
Najmniejsza możliwa długość działki niezbędna do wybudowania wybranego domu. Składa się z długości elewacji domu powiększonej z obu stron o 3 m dla ściany bez otworów drzwiowych/okiennych lub 4 m, dla ściany z otworami.

31,40 m

Energooszczędność Energooszczędność

Oze Czym jest OZE (Odnawialne Źródło Energii)?
Warunki techniczne

Projekt zgody z WT 2021

Technologia i konstrukcja Technologia i konstrukcja

Konstrukcja

Murowana

Opis szczegółowy

Konstrukcja ściany zewnętrzne - beton komórkowy gr.24 cm + styropian Termo Organika Termonium Plus gr. 18cm; ściany wewnętrzne - beton komórkowy gr.24cm; ściany fundamentowe -bloczek betonowy; strop -Teriva; konstrukcja dachu -drewniana Instalacje W projekcie przewidziano instalacjie: c.o. i c.w.u., grzejniki płytowe, instalacje wodno-kanalizacyjna oraz elektryczne, wentylacja grawitacyjna. Wykończenie pokrycie dachowe - dachówka cementowa (w ramach adaptacji inny materiał); ścianki działowe na parterze - bloczki silikatowe; na poddaszu z płyt gipsowo-kartonowych; schody drewniane - zabiegowe, okna - PVC, okna dachowe i wyłaz dachowy - Fakro

Strop

Gęstożebrowy

Reklama
Okna i drzwi tarasowe

Nowoczesne okna PVC i aluminiowe WIŚNIOWSKI – doskonała izolacja, elegancki design i niezrównana trwałość.

Wiśniowski
Sprawdź parametry!
Okna dachowe

Oferujemy bezpłatne konsultacje w zakresie wszystkich rozwiązań VELUX. Wyceny, porady dotyczące doboru okien i rolet zewnętrznych - sprawdź!

Velux
Sprawdź szczegóły
Dach

Producent stalowych pokryć dachowych i elewacyjnych - 40 lat doświadczenia. Zbuduj solidny dach z nami!

Blachy Pruszyński
Sprawdź szczegóły
Płytki ceramiczne i gresy

Od małych formatów po wielkoformatowe gresy. Marmur, beton, drewno, kamień, lastryko czy cegiełki zamówisz wygodnie online z szybką dostawą.

Ceramzet
Sprawdź ofertę
Drzwi

Ciepłe drzwi WIŚNIOWSKI z kontrolą dostępu. Szeroka gama wzorów i kolorów.

Wiśniowski
Wybierz najlepsze
Bramy garażowe

Automatyczne bramy garażowe segmentowe i uchylne WIŚNIOWSKI na wymiar i z systemem smart home w standardzie.

Wiśniowski
Sprawdź ofertę!
Armatura i ceramika łazienkowa

Topowi producenci. Baterie łazienkowe, zestawy natynkowe i podtynkowe, umywalki, wanny, miski WC oraz kabiny zamówisz kompleksowo online.

Ceramzet II
Dowiedz się więcej
Rekuperacja

Alnor - kompletny system rekuperacji. Dobierz idealne rozwiązanie dla Twojego domu!

Alnor
Dobierz rekuperator
Gruntowe pompy ciepła

Przeprowadzimy kompletną instalację najbardziej oszczędnego źródła ciepła w Twoim nowym domu - gruntowej pompy ciepła. Od dokumentacji, pozwoleń, po odwierty i instalację.

Geothermal Solutions
Dowiedz się więcej

Gotowe domy modułowe (113)

Zobacz wszystkie
Stan deweloperski nawet w 6 miesięcy Gwarancja stałej ceny
Zdjęcie 1 projektu Dom prefabrykowany P.6 HPK1005
Pow. użytkowa
176,69 m²
Pokoje
4
916 600 zł 5 188 zł/m²
Zdjęcie 1 projektu Dom szkieletowy Viking Smart 220 HHT1032
Pow. użytkowa
163,86 m²
Pokoje
4
1 095 606 zł 6 686 zł/m²
Zdjęcie 1 projektu Dom prefabrykowany Stodoła 180B HFX1028
Pow. użytkowa
185,90 m²
Pokoje
5
659 000 zł 3 545 zł/m²
Zdjęcie 1 projektu Dom prefabrykowany Stodoła 180C HFX1029
Pow. użytkowa
186,60 m²
Pokoje
5
659 000 zł 3 532 zł/m²
Zdjęcie 1 projektu Dom prefabrykowany Stodoła 180A HFX1027
Pow. użytkowa
186,60 m²
Pokoje
5
659 000 zł 3 532 zł/m²
Zdjęcie 1 projektu Dom prefabrykowany P.4 bez okapu HPK1003
Pow. użytkowa
162,18 m²
Pokoje
4
701 000 zł 4 322 zł/m²
Zdjęcie 1 projektu Dom prefabrykowany P.4 z okapem HPK1014
Pow. użytkowa
162,18 m²
Pokoje
5
710 500 zł 4 381 zł/m²
Zdjęcie 1 projektu Dom prefabrykowany P.2 HPK1001
Pow. użytkowa
159,18 m²
Pokoje
5
832 200 zł 5 228 zł/m²

Opis projektu domu
Pluton II Plus

Projekt domu Pluton II to ciekawa propozycja dla osób posiadających średniej szerokości działkę. Dom cechuje się bryłą w kształcie litery L, co sprawia, że oryginalnie się prezentuje. Na uwagę zasługuje ozdobny wykusz, nadający konstrukcji dodatkowego uroku. W tym projekcie kalenica skierowana jest równolegle do drogi, co jest bardzo istotnie, gdy wymaga tego plan zagospodarowania przestrzennego. Dom został stworzony do zabudowy wolnostojącej. W projekcie zaplanowano garaż jednostanowiskowy wysunięty do przodu. Jest to również doskonała propozycja dla osób szukających domu z dachem czterospadowym, który doskonale chroni budynek przed niekorzystną pogodą. Projekt Pluton II to dom parterowy z poddaszem użytkowym, co sprawia, że jego powierzchnia jest wyraźnie podzielona na strefy: dzienną i nocną.Zwolenników przestronnych przestrzeni z pewnością ucieszy przewidziana w projekcie część dzienna. Tworzy ją między innymi funkcjonalna kuchnia, która spełni marzenie każdej gospodyni. Dodatkowo przydatnym pomieszczeniem jest pojemna spiżarka. Strefę dzienną tworzy także przestronny salon z jadalnią, dzięki czemu domownicy mogą wspólnie integrować się w jednym miejscu. Usytuowany w salonie kominek sprawi, iż wnętrze stanie się bardziej przytulne. W projekcie uwzględniono dwie komfortowe łazienki- jedna znajduje się na parterze, zaś druga na poddaszu. Oprócz tego na dole przewidziano dodatkową, osobną toaletę. Strefa sypialniana składa się z czterech pokoi, co jest doskonałą opcją dla 4-6 osobowej rodziny. Przestrzeń można wykorzystać także jako pokój dla gości lub gabinet. Oprócz tego, w domu znajduje się również pomieszczenie gospodarcze, które można wykorzystać zgodnie z własnymi potrzebami. Rodzinne spotkania w słonecznie dni uprzyjemni przewidziany przy domu taras. Dom zaprojektowano w technologii murowanej. Pluton II zadowoli Inwestorów ceniących cechy stylu tradycyjnego, co jest idealnym rozwiązaniem dla osób ceniących klasykę i prostotę.
Czytaj więcej

Informacje dodatkowe

Projekt na etapie adaptacji należy dostosować do nowych przepisów.

Czytaj więcej

Polecani producenci

Prefabrykowane konstrukcje dachowe

tło producenta

WIĄZAR POLSKA

Zobacz więcej

Sprawdź nową generację okien GREENVIEW

tło producenta

FAKRO

Sprawdź nową generację okien GREENVIEW

Styropian, tynki, farby, kleje

tło producenta

Termo Organika

Poznaj super jakość

Okna, drzwi, osłony przeciwsłoneczne

tło producenta

Aluprof

Sprawdź ofertę

Kompletne systemy rekuperacji

tło producenta

Alnor

Dowiedz się więcej

Sprawdź nowy system DACHRYNNA

tło producenta

Galeco

Sprawdź ofertę
Zobacz więcej

Społeczność projektu domu
Pluton II Plus w budowie

Dołącz do społeczności osób, które budują ten dom lub są zainteresowane jego budową.

  • Oglądaj zdjęcia z budowy
  • Zadawaj pytania
  • Wymieniaj się doświadczeniami

Opinie o projekcie domu Pluton II Plus

Ocena

Ten projekt nie ma jeszcze opinii, bądź pierwszy!

Dodaj opinię

ASYSTENT WYBORU PROJEKTU

Szukasz idealnego projektu? Znajdziemy go dla Ciebie!

Doradca na podstawie Twoich wskazówek przygotuje spersonalizowaną listę projektów

Graficzne opracowanie rzutów poglądowych widocznych na karcie projektu zostało wykonane przez Extradom.pl. Prezentowane przez Extradom.pl wizualizacje wykonane zostały przez autora projektu i należy poczytywać je jedynie za przykład i propozycję wykończenia, wizję architektoniczną autora projektu. Ostateczne wykończenie budynku może nastąpić na wiele sposobów. Szczegółowe rozwiązania zastosowane w oferowanej dokumentacji - w tym również ilość, lokalizacje i wygląd okien, drzwi, kominów - mogą w niewielkim stopniu różnić się od prezentowanej wizualizacji budynku.

REKLAMA
Zamknij