Projekty nawet 500 zł taniej ❄️

Koniec oferty za:

00godz.

00min.

00sek.

Sprawdź

Projekt domu Dudek Bis z garażem 2-st. [A] WRF2090

Dodano!
Dodano!

Warstwy

Rzut parteru

Powierzchnia (m²)
Tooltip
Powierzchnia pomieszczenia
to ta, z której faktycznie możesz korzystać – skosy i niskie części poddasza są liczone częściowo lub wcale.
  1. 100% dla wysokości powyżej 2,2 m,
  2. 50% dla wysokości 1,4–2,2 m,
  3. nie liczymy poniżej 1,4 m.

Powierzchnia podłogi
Liczymy po obrysie pomieszczenia, bez względu na jego wysokość/skosy. Jeśli nie ma skosów to powierzchnia podłogi i pomieszczenia jest taka sama.
pomieszczenia i podłogi
podłogi
1. Wiatrołap
2,60
2. Wc
2
3. Hall
8,60
4. Garderoba
2,40
5. Łazienka
6,80
6. Łazienka
3,80
7. Pokój
13,90
8. Pokój
12,50
9. Pokój
12,50
10. Pokój dzienny
31,60
11. Kuchnia
6,80
12. Spiżarnia
4,10
13. Kotłownia
8,40
14. Garaż dwustanowiskowy
35,20
Razem
151,20
151,20

    Usytuowanie na działce

    Czy ten projekt pasuje na
    Twoją działkę?

    Chętnie to sprawdzimy!

    Dowiedz się:

    • czy zmieści się na niej wybrany przez Ciebie dom
    • jakie parametry musi spełniać dom według miejscowego planu zagospodarowania lub warunków zabudowy (np. kąt nachylenia i typ dachu, liczba kondygnacji itp.
    • jakie inne projekty pasują na Twoją działkę – znajdziemy je dla Ciebie!

Pow. użytkowa

110,40 m²

Pokoje

3

Łazienki i WC

3

Garaż

2

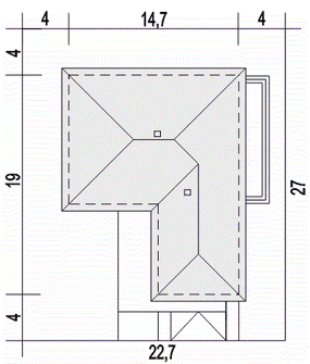
Min. szer. i dł. działki

22,7 x 27 m

Kąt dachu

30°

Konstrukcja

Murowana
więcej

Dudek Bis z garażem 2-st. [A] - WRF2090

ikona 110,40 m²
Powierzchnia użytkowa
ikona3
Pokoje (bez salonu)
ikona 3
Łazienki (z toaletami)
ikona 2
Liczba stanowisk garażowych
(z wiatą garażową)
ikona
Konstrukcja: Murowana

Projekt został
wycofany z oferty

W razie pytań prosimy o kontakt
z Centrum Obsługi Klienta
Konsultant Masz pytania?
Zadzwoń
71 715 20 60

pon.-pt. 8-21, sob. 9-17

Parter - 151,20 m²

Parter projektu Dudek Bis z garażem 2-st. [A]

Zapytaj, co możesz zmienić

Powierzchnia (m²)
Tooltip
Powierzchnia pomieszczenia
to ta, z której faktycznie możesz korzystać – skosy i niskie części poddasza są liczone częściowo lub wcale.
  1. 100% dla wysokości powyżej 2,2 m,
  2. 50% dla wysokości 1,4–2,2 m,
  3. nie liczymy poniżej 1,4 m.

Powierzchnia podłogi
Liczymy po obrysie pomieszczenia, bez względu na jego wysokość/skosy. Jeśli nie ma skosów to powierzchnia podłogi i pomieszczenia jest taka sama.
pomieszczenia i podłogi
podłogi
1. Wiatrołap
2,60
2. Wc
2
3. Hall
8,60
4. Garderoba
2,40
5. Łazienka
6,80
6. Łazienka
3,80
7. Pokój
13,90
8. Pokój
12,50
9. Pokój
12,50
10. Pokój dzienny
31,60
11. Kuchnia
6,80
12. Spiżarnia
4,10
13. Kotłownia
8,40
14. Garaż dwustanowiskowy
35,20
Razem
151,20
151,20

Podobne projekty (6091)

Zobacz wszystkie
NIŻSZA CENA❄️
Zdjęcie 1 projektu HomeKoncept 133 KRX1268
HomeKoncept 133
Dodano!
Dodano!
130,02 m²
4
2
2

6 190 zł

6 690 zł

Tooltip

Cena regularna

5 686 zł najniższa cena
Tooltip

Najniższa cena z 30 dni
przed obniżką

Zdjęcie 1 projektu Klara II bez garażu [B] WRF2301
Klara II bez garażu [B]
Dodano!
Dodano!
126,90 m²
4
3
0

5 190 zł

NIŻSZA CENA❄️
Zdjęcie 1 projektu Określony D63 WWB1070
Określony D63
Dodano!
Dodano!
124,65 m²
3
2
2

4 449 zł

4 699 zł

Tooltip

Cena regularna

4 299 zł najniższa cena
Tooltip

Najniższa cena z 30 dni
przed obniżką

Zdjęcie 1 projektu D21-9B G2 WSA1014
D21-9B G2
Dodano!
Dodano!
108,99 m²
3
2
2

6 500 zł

NIŻSZA CENA❄️
Zdjęcie 1 projektu Wymarzony 11 WAH1901
Wymarzony 11
Dodano!
Dodano!
119,39 m²
5
2
1

5 352 zł

6 690 zł

Tooltip

Cena regularna

5 017 zł najniższa cena
Tooltip

Najniższa cena z 30 dni
przed obniżką

NIŻSZA CENA❄️
Zdjęcie 1 projektu APS 337 LUA1517
APS 337
Dodano!
Dodano!
115,70 m²
3
2
1

3 899 zł

4 399 zł

Tooltip

Cena regularna

3 849 zł najniższa cena
Tooltip

Najniższa cena z 30 dni
przed obniżką

Zdjęcie 1 projektu APS 347 wariant 2+G ECO LUA1657
APS 347 wariant 2+G ECO
Dodano!
Dodano!
103,50 m²
3
2
2

5 099 zł

Zdjęcie 1 projektu Leon 2 BSE1267
Leon 2
Dodano!
Dodano!
130,29 m²
3
3
2

5 400 zł

Elewacje

Frontowa
Tylna
Lewa
Prawa

Przekroje

Przekrój pionowy

Usytuowanie na działce

Czy ten projekt pasuje na
Twoją działkę?

Chętnie to sprawdzimy!

Czy ten projekt pasuje na
Twoją działkę?

Chętnie to sprawdzimy!

Dowiedz się:

  • czy zmieści się na niej wybrany przez Ciebie dom
  • jakie parametry musi spełniać dom według miejscowego planu zagospodarowania lub warunków zabudowy (np. kąt nachylenia i typ dachu, liczba kondygnacji itp.
  • jakie inne projekty pasują na Twoją działkę – znajdziemy je dla Ciebie!
Autor: Archeco Dom dla Ciebie

Dane techniczne projektu

Powierzchnie i wymiary Powierzchnie i wymiary

Powierzchnia użytkowa
Tooltip
Suma powierzchni wszystkich pomieszczeń mieszkalnych, pomniejszona o pow. garażu, kotłowni, strychu, piwnicy. Jest liczona w 100% dla pomieszczeń o wysokości powyżej 2,2 m, w 50% dla pomieszczeń o wys. 2,2-1,4 m i niewliczana dla niższych niż 1,4 m.

110,40 m²

Powierzchnia zabudowy
Tooltip
Powierzchnia zajmowana przez część na- oraz nadziemną budynku liczona, jako rzut pionowy budynku na działkę.

199,30 m²

Powierzchnia netto
Tooltip
Powierzchna wszystkich pomieszczeń w budynku mierzona na wysokości podłogi.

151,20 m²

Powierzchnia dachu

299,50 m²

Kąt nachylenia dachu
Tooltip
Nachylenie połaci dachu głównego podawane w stopniach. Uwaga! W niektórych projektach występuje więcej niż jedno nachylenie dachu.

30°

Wysokość budynku
Tooltip
Wysokość liczona od części budynku położonej najniżej przy powierzchni terenu do najwyższego punktu dachu (kalenicy) z wyłączeniem kominów.

6,90 m

Min. szerokość działki
Tooltip
Najmniejsza możliwa szerokość działki niezbędna do wybudowania wybranego domu. Składa się z szerokości elewacji domu powiększonej z obu stron o 3 m dla ściany bez otworów drzwiowych/okiennych lub 4 m, dla ściany z otworami.

22,70 m

Min. długość działki
Tooltip
Najmniejsza możliwa długość działki niezbędna do wybudowania wybranego domu. Składa się z długości elewacji domu powiększonej z obu stron o 3 m dla ściany bez otworów drzwiowych/okiennych lub 4 m, dla ściany z otworami.

27 m

Energooszczędność Energooszczędność

Oze Czym jest OZE (Odnawialne Źródło Energii)?
Ogrzewanie główne

Gazowe - szczegóły

Interesuje Cię inne źródło ogrzewania? Wyślij zapytanie lub zadzwoń do doradcy

Wentylacja

Grawitacyjna - szczegóły

Instalacje w projekcie

Ogrzewanie kominkowe z płaszczem wodnym

Warunki techniczne

Projekt zgody z WT 2021

Technologia i konstrukcja Technologia i konstrukcja

Konstrukcja

Murowana

Opis szczegółowy

Fundamenty: betonowe. Ściany: porotherm+styropian. Rodzaj stropu: terriva. Elewacje: tynk strukturalny. Pokrycie dachu: dachówka cem. lub cer.

Strop

Gęstożebrowy

Reklama
Okna i drzwi tarasowe

Nowoczesne okna PVC i aluminiowe WIŚNIOWSKI – doskonała izolacja, elegancki design i niezrównana trwałość.

Wiśniowski
Sprawdź parametry!
Okna dachowe

Oferujemy bezpłatne konsultacje w zakresie wszystkich rozwiązań VELUX. Wyceny, porady dotyczące doboru okien i rolet zewnętrznych - sprawdź!

Velux
Sprawdź szczegóły
Płytki ceramiczne i gresy

Od małych formatów po wielkoformatowe gresy. Marmur, beton, drewno, kamień, lastryko czy cegiełki zamówisz wygodnie online z szybką dostawą.

Ceramzet
Sprawdź ofertę
Drzwi

Ciepłe drzwi WIŚNIOWSKI z kontrolą dostępu. Szeroka gama wzorów i kolorów.

Wiśniowski
Wybierz najlepsze
Bramy garażowe

Automatyczne bramy garażowe segmentowe i uchylne WIŚNIOWSKI na wymiar i z systemem smart home w standardzie.

Wiśniowski
Sprawdź ofertę!
Armatura i ceramika łazienkowa

Topowi producenci. Baterie łazienkowe, zestawy natynkowe i podtynkowe, umywalki, wanny, miski WC oraz kabiny zamówisz kompleksowo online.

Ceramzet II
Dowiedz się więcej
Rekuperacja

Alnor - kompletny system rekuperacji. Dobierz idealne rozwiązanie dla Twojego domu!

Alnor
Dobierz rekuperator
Gruntowe pompy ciepła

Przeprowadzimy kompletną instalację najbardziej oszczędnego źródła ciepła w Twoim nowym domu - gruntowej pompy ciepła. Od dokumentacji, pozwoleń, po odwierty i instalację.

Geothermal Solutions
Dowiedz się więcej

Gotowe domy modułowe (114)

Zobacz wszystkie
Stan deweloperski nawet w 6 miesięcy Gwarancja stałej ceny
Zdjęcie 1 projektu Dom keramzytowy EP1 HAK1006
Gotowy dom keramzytowy EP1
Dodano!
Dodano!
Pow. użytkowa
110,58 m²
Pokoje
3
473 700 zł 4 284 zł/m²
Zdjęcie 1 projektu Dom szkieletowy Functional Smart 110 HHT1018
Pow. użytkowa
110,12 m²
Pokoje
3
525 337 zł 4 771 zł/m²
Zdjęcie 1 projektu Dom prefabrykowany Parterowy 110A HFX1009
Pow. użytkowa
110,71 m²
Pokoje
3
465 000 zł 4 200 zł/m²
Zdjęcie 1 projektu Dom keramzytowy Atrakcyjna Stodoła AS110 HAK1005
Pow. użytkowa
109,71 m²
Pokoje
4
532 520 zł 4 854 zł/m²
Zdjęcie 1 projektu Dom prefabrykowany Parterowy 110B HFX1013
Pow. użytkowa
111,33 m²
Pokoje
4
465 000 zł 4 177 zł/m²
Zdjęcie 1 projektu Dom szkieletowy Family Smart 70 HHT1006
Pow. użytkowa
111,77 m²
Pokoje
5
534 125 zł 5 046 zł/m²
Zdjęcie 1 projektu Dom szkieletowy Moly Smart 112 HHT1028
Pow. użytkowa
112 m²
Pokoje
3
553 375 zł 4 941 zł/m²
Zdjęcie 1 projektu Dom prefabrykowany Parterowy 110C HFX1014
Pow. użytkowa
112,16 m²
Pokoje
4
465 000 zł 4 146 zł/m²

Opis projektu domu
Dudek Bis z garażem 2-st. [A]

Dudek Bis to nowoczesny, parterowy projekt domu dla 4-5 osobowej rodziny. Wielospadowy układ dachu przykrywa bryłę domu. Strefa wspólna, obejmuje jednoprzestrzenny salon z kuchnią i jadalnią. Za kuchnią znajduje się spiżarnia. Do pomieszczenia z piecem CO wchodzi się bezpośrednio z garażu i z zewnątrz z podcienia. W strefie wejściowej zaprojektowano wiatrołap, mały WC oraz wygodną komunikację z centralną garderobą. Komunikacja rozprowadza do trzech pokoi i ogólnej łazienki. Największa sypialnia posiada łazienkę indywidualną. Do dyspozycji mieszkańców jest także garaż na dwa samochody. Na poddaszu znajduje się poddasze przeznaczone na cele nieużytkowe. Modna kolorystyka zewnętrzna nadaje budynkowi nowoczesny wygląd
Czytaj więcej

Informacje dodatkowe

Projekt jest w fazie koncepcji. Przy zakupie projektu należy zapłacić 35% zaliczki. Zaliczka jest bezzwrotna w przypadku zwrotu lub rezygnacji z zamówienia.

Czytaj więcej

Polecani producenci

Prefabrykowane konstrukcje dachowe

tło producenta

WIĄZAR POLSKA

Zobacz więcej

Sprawdź nową generację okien GREENVIEW

tło producenta

FAKRO

Sprawdź nową generację okien GREENVIEW

Styropian, tynki, farby, kleje

tło producenta

Termo Organika

Poznaj super jakość

Okna, drzwi, osłony przeciwsłoneczne

tło producenta

Aluprof

Sprawdź ofertę

Kompletne systemy rekuperacji

tło producenta

Alnor

Dowiedz się więcej

Sprawdź nowy system DACHRYNNA

tło producenta

Galeco

Sprawdź ofertę
Zobacz więcej

Społeczność projektu domu
Dudek Bis z garażem 2-st. [A] w budowie

Dołącz do społeczności osób, które budują ten dom lub są zainteresowane jego budową.

  • Oglądaj zdjęcia z budowy
  • Zadawaj pytania
  • Wymieniaj się doświadczeniami

Opinie o projekcie domu Dudek Bis z garażem 2-st. [A]

Ocena

Ten projekt nie ma jeszcze opinii, bądź pierwszy!

Dodaj opinię

ASYSTENT WYBORU PROJEKTU

Szukasz idealnego projektu? Znajdziemy go dla Ciebie!

Doradca na podstawie Twoich wskazówek przygotuje spersonalizowaną listę projektów

Graficzne opracowanie rzutów poglądowych widocznych na karcie projektu zostało wykonane przez Extradom.pl. Prezentowane przez Extradom.pl wizualizacje wykonane zostały przez autora projektu i należy poczytywać je jedynie za przykład i propozycję wykończenia, wizję architektoniczną autora projektu. Ostateczne wykończenie budynku może nastąpić na wiele sposobów. Szczegółowe rozwiązania zastosowane w oferowanej dokumentacji - w tym również ilość, lokalizacje i wygląd okien, drzwi, kominów - mogą w niewielkim stopniu różnić się od prezentowanej wizualizacji budynku.

REKLAMA
Zamknij