👉 Wiosenne rabaty + karta allegro 200 zł! 🔥

Koniec oferty za:

00godz.

00min.

00sek.

Sprawdź

Projekt domu Willa sosnowa z garażem 2-st. [A] WRF2054

Zapisz Dodano!
Porównaj Dodano!
ikona Pobierz i drukuj
Dodaj opinię

Warstwy

Warstwy

Rzut parteru

Powierzchnia (m²)
Tooltip
Powierzchnia pomieszczenia
to ta, z której faktycznie możesz korzystać – skosy i niskie części poddasza są liczone częściowo lub wcale.
  1. 100% dla wysokości powyżej 2,2 m,
  2. 50% dla wysokości 1,4–2,2 m,
  3. nie liczymy poniżej 1,4 m.

Powierzchnia podłogi
Liczymy po obrysie pomieszczenia, bez względu na jego wysokość/skosy. Jeśli nie ma skosów to powierzchnia podłogi i pomieszczenia jest taka sama.
pomieszczenia i podłogi
podłogi
1. Wiatrołap
4,20
2. Garderoba
3,90
3. Kuchnia
11,90
4. Spiżarnia
1,70
5. Pokój dzienny + jadalnia
42
6. Hall
4
7. Pomieszczenie gospodarcze
1,10
8. Schody
5
9. Pokój
15,20
10. Garderoba
3,10
11. Łazienka
2,80
12. Kotłownia
6
13. Garaż dwustanowiskowy
33,50
Razem
134,40
134,40
Powierzchnia (m²)
Tooltip
Powierzchnia pomieszczenia
to ta, z której faktycznie możesz korzystać – skosy i niskie części poddasza są liczone częściowo lub wcale.
  1. 100% dla wysokości powyżej 2,2 m,
  2. 50% dla wysokości 1,4–2,2 m,
  3. nie liczymy poniżej 1,4 m.

Powierzchnia podłogi
Liczymy po obrysie pomieszczenia, bez względu na jego wysokość/skosy. Jeśli nie ma skosów to powierzchnia podłogi i pomieszczenia jest taka sama.
pomieszczenia i podłogi
podłogi
14. Korytarz
15,50
15. Pokój
15,70
16. Łazienka
5,90
17. Pokój
21,40
18. Pokój
16,70
19. Pomieszczenie gospodarcze
1,70
20. Pomieszczenie gospodarcze
3,30
21. Garderoba
3,20
22. Łazienka
5,80
23. Garderoba
4,70
24. Garderoba
3,40
Razem
97,30
97,30

    Usytuowanie na działce

    Czy ten projekt pasuje na
    Twoją działkę?

    Chętnie to sprawdzimy!

    Dowiedz się:

    • czy zmieści się na niej wybrany przez Ciebie dom
    • jakie parametry musi spełniać dom według miejscowego planu zagospodarowania lub warunków zabudowy (np. kąt nachylenia i typ dachu, liczba kondygnacji itp.
    • jakie inne projekty pasują na Twoją działkę – znajdziemy je dla Ciebie!

Pow. użytkowa

188,80 m²

Pokoje

4

Łazienki i WC

3

Garaż

2

Kąt dachu

22°

Wysokość budynku

9 m

Powierzchnia zabudowy

199,70 m²

Min. szer. i dł. działki

21,9 x 22,20 m

Konstrukcja

Murowana

Szacunkowy koszt SSZ
netto na I kwartał 2026

481 000 zł

Pokaż więcej parametrów

Zapisz Dodano!
Porównaj Dodano!
ikona Pobierz i drukuj

Willa sosnowa z garażem 2-st. [A] - WRF2054

ikona 188,80 m²
Powierzchnia użytkowa
ikona4
Pokoje (bez salonu)
ikona 3
Łazienki (z toaletami)
ikona 2
Liczba stanowisk garażowych
(z wiatą garażową)
ikona
Konstrukcja: Murowana

6 140 zł

Projekt jest dostępny

Gwarancja najniższej ceny
ikona
Darmowa dostawa
Paczkomaty, kurier
ikona
100 dni na wymianę,
30 dni na zwrot
ikona Zyskaj najwięcej! Extradodatki GRATIS:

15% rabatu do LEROY MERLIN

10% rabatu w CASTORAMIE

16% rabatu w SELSEY

Kurs wideo dla planujących budowę

Pakiet Formalności 2026

Przydatne Extradodatki

Poradnik Dach Solarny

ikona Co zawiera projekt?
  • Projekt zgodny z WT2021
  • Bezpłatne pozwolenie na zmiany
  • Charakterystyka energetyczna
Konsultant
71 715 20 60

pon.-pt. 8-21, sob. 9-17

Szukasz wykonawcy godnego zaufania?
Zleć budowę w Extradom.pl!

  • Z góry znasz koszt budowy domu
  • Dom odbierasz zgodnie z ustalonym harmonogramem - nawet w 6 miesięcy
  • Zabezpiecza Cię jedna kompleksowa umowa z jednym wykonawcą
  • Otrzymujesz nawet 30-letnią gwarancję na konstrukcję domu
  • Oszczędzasz swój czas dzięki pewnej i kompletnej usłudze
  • Odbiór techniczny GRATIS - Gwarantujemy najwyższą jakość
Cena brutto stanu
deweloperskiego od
Tooltip
Cena brutto stanu deweloperskiego od 4 109 do 5 279 zł/m2.
Cena jest uzależniona m.in. od lokalizacji, wybranej technologii, kubatury budynku, skomplikowania projektu i ewentualnych zmian, na które zdecyduje się inwestor.
Cena za m2 powierzchni netto, czyli wszystkich pomieszczeń mierzonych na wysokości podłogi.
4 109 zł/m2
Dowiedz się więcej
Konsultant Masz pytania?
Zadzwoń
71 715 20 09

pon.-pt. 8-19

Parter - 134,40 m²

Parter projektu Willa sosnowa z garażem 2-st. [A]

Zapytaj, co możesz zmienić

Powierzchnia (m²)
Tooltip
Powierzchnia pomieszczenia
to ta, z której faktycznie możesz korzystać – skosy i niskie części poddasza są liczone częściowo lub wcale.
  1. 100% dla wysokości powyżej 2,2 m,
  2. 50% dla wysokości 1,4–2,2 m,
  3. nie liczymy poniżej 1,4 m.

Powierzchnia podłogi
Liczymy po obrysie pomieszczenia, bez względu na jego wysokość/skosy. Jeśli nie ma skosów to powierzchnia podłogi i pomieszczenia jest taka sama.
pomieszczenia i podłogi
podłogi
1. Wiatrołap
4,20
2. Garderoba
3,90
3. Kuchnia
11,90
4. Spiżarnia
1,70
5. Pokój dzienny + jadalnia
42
6. Hall
4
7. Pomieszczenie gospodarcze
1,10
8. Schody
5
9. Pokój
15,20
10. Garderoba
3,10
11. Łazienka
2,80
12. Kotłownia
6
13. Garaż dwustanowiskowy
33,50
Razem
134,40
134,40

Natychmiast, otrzymasz PDF-y
z rzutami wszystkich kondygnacji

Piętro 1 - 97,30 m²

Piętro 1 projektu Willa sosnowa z garażem 2-st. [A]

Zapytaj, co możesz zmienić

Powierzchnia (m²)
Tooltip
Powierzchnia pomieszczenia
to ta, z której faktycznie możesz korzystać – skosy i niskie części poddasza są liczone częściowo lub wcale.
  1. 100% dla wysokości powyżej 2,2 m,
  2. 50% dla wysokości 1,4–2,2 m,
  3. nie liczymy poniżej 1,4 m.

Powierzchnia podłogi
Liczymy po obrysie pomieszczenia, bez względu na jego wysokość/skosy. Jeśli nie ma skosów to powierzchnia podłogi i pomieszczenia jest taka sama.
pomieszczenia i podłogi
podłogi
14. Korytarz
15,50
15. Pokój
15,70
16. Łazienka
5,90
17. Pokój
21,40
18. Pokój
16,70
19. Pomieszczenie gospodarcze
1,70
20. Pomieszczenie gospodarcze
3,30
21. Garderoba
3,20
22. Łazienka
5,80
23. Garderoba
4,70
24. Garderoba
3,40
Razem
97,30
97,30

Natychmiast, otrzymasz PDF-y
z rzutami wszystkich kondygnacji

Zamów rysunki szczegółowe

Zapoznaj się ze szczegółowymi rysunkami rzutów kondygnacji w PDF dla tego projektu.

Podobne projekty (89)

Zobacz wszystkie
NIŻSZA CENA 🔥
Zdjęcie 1 projektu Wyszukany D64 wariant IV WWB1154
Wyszukany D64 wariant IV
Dodano!
Dodano!
215,17 m²
5
3
2

5 699 zł

5 949 zł

Tooltip

Cena regularna

5 649 zł najniższa cena
Tooltip

Najniższa cena z 30 dni
przed obniżką

NIŻSZA CENA 🔥
Zdjęcie 1 projektu Willa Floryda 6 WAH2111
Willa Floryda 6
Dodano!
Dodano!
190,67 m²
4
3
2

10 472 zł

13 090 zł

Tooltip

Cena regularna

10 472 zł najniższa cena
Tooltip

Najniższa cena z 30 dni
przed obniżką

NIŻSZA CENA 🔥
Zdjęcie 1 projektu Orkan wariant B WAH1936
Orkan wariant B
Dodano!
Dodano!
183,59 m²
6
4
2

6 320 zł

7 900 zł

Tooltip

Cena regularna

6 320 zł najniższa cena
Tooltip

Najniższa cena z 30 dni
przed obniżką

NIŻSZA CENA 🔥
Zdjęcie 1 projektu Willa diamentowa wariant D WAH1976
Willa diamentowa wariant D
Dodano!
Dodano!
156,01 m²
4
3
2

6 192 zł

7 740 zł

Tooltip

Cena regularna

6 192 zł najniższa cena
Tooltip

Najniższa cena z 30 dni
przed obniżką

NIŻSZA CENA 🔥
Zdjęcie 1 projektu Domidea 104d 2G WAC1094
Domidea 104d 2G
Dodano!
Dodano!
173,99 m²
4
3
2

7 449 zł

7 749 zł

Tooltip

Cena regularna

7 449 zł najniższa cena
Tooltip

Najniższa cena z 30 dni
przed obniżką

NIŻSZA CENA 🔥
Zdjęcie 1 projektu APS 275 wariant 2 LUA1621
APS 275 wariant 2
Dodano!
Dodano!
202,70 m²
5
3
2

6 149 zł

6 699 zł

Tooltip

Cena regularna

5 949 zł najniższa cena
Tooltip

Najniższa cena z 30 dni
przed obniżką

NIŻSZA CENA 🔥
Zdjęcie 1 projektu Riwiera 4 WAH1581
Riwiera 4
Dodano!
Dodano!
171,84 m²
5
3
2

6 192 zł

7 740 zł

Tooltip

Cena regularna

6 192 zł najniższa cena
Tooltip

Najniższa cena z 30 dni
przed obniżką

NIŻSZA CENA 🔥
Zdjęcie 1 projektu Eco 27 WOZ1029
Eco 27
Dodano!
Dodano!
214 m²
4
2
2

8 149 zł

8 349 zł

Tooltip

Cena regularna

7 949 zł najniższa cena
Tooltip

Najniższa cena z 30 dni
przed obniżką

Metody i koszt budowy

Ten dom możesz budować metodą gospodarczą, systemem zleconym lub skorzystać z naszej oferty Projekt z Budową. Przy porównaniu weź pod uwagę nie tylko koszt, ale też różny zakres prac i standard wykonania.

Metoda gospodarcza

Najtańsza metoda - większość prac
budowlanych wykonuje inwestor

Stan surowy zamknięty (SSZ)

481 000 zł netto

Szacunkowy koszt materiałów na I kwartał 2026
  • Prace ziemne i fundamenty

    80 000 zł
  • Konstrukcja, strop oraz dach

    331 000 zł
  • Stolarka okienna i drzwiowa

    70 000 zł
  • Instalacje

    nie obejmuje
  • Prace wykończeniowe

    nie obejmuje
  • Możesz budować etapami, pamiętając jednak o zmianie kosztów w czasie
  • Możesz rozpocząć budowę z częścią niezbędnych środków
  • Sam ustalasz harmonogram, koordynujesz budowę i zapewniasz materiały
Czy da się obniżyć koszty budowy?
Zobacz nasz film jak obniżyć koszt budowy

Projekt z Budową

Najszybsza i najwygodniejsza metoda -
całą budowę domu realizuje jedna firma

Stan deweloperski
Gwarancja stałego kosztu budowy

Gwarancja stałego
kosztu budowy

  • Prace ziemne i fundamenty
  • Konstrukcja, strop oraz dach
  • Stolarka okienna i drzwiowa
  • Instalacje  
    Tooltip

    Obejmuje wykonanie instalacji:

    • wodno-kanalizacyjnej
    • centralnego ogrzewania
    • gazowej
    • elektrycznej
  • Prace wykończeniowe  
    Tooltip

    Prace wykończeniowe obejmują:

    • sufity i ściany wewnętrzne
    • tynki i okładziny ścian wewnętrznych
    • wylewki i posadzkę
    • ocieplenie ścian zewnętrznych i elewację

Budowa
nawet w
6mies.

  • Kompleksowa umowa i znany z góry koszt budowy
  • Logistyka, organizacja budowy i zakupy po stronie firmy budowlanej
  • Formalności i dokumentacje po stronie firmy budowlanej
  • Różne technologie budowy dopasowane do projektu i budżetu
Szczegóły i dostępne technologie
icon

Darmowe

Zestawienie materiałów budowlanych

Elewacje

Frontowa
Tylna
Lewa
Prawa

Przekroje

Przekrój pionowy

Usytuowanie na działce

Czy ten projekt pasuje na
Twoją działkę?

Chętnie to sprawdzimy!

Czy ten projekt pasuje na
Twoją działkę?

Chętnie to sprawdzimy!

Dowiedz się:

  • czy zmieści się na niej wybrany przez Ciebie dom
  • jakie parametry musi spełniać dom według miejscowego planu zagospodarowania lub warunków zabudowy (np. kąt nachylenia i typ dachu, liczba kondygnacji itp.
  • jakie inne projekty pasują na Twoją działkę – znajdziemy je dla Ciebie!
Autor: Archeco Dom dla Ciebie

Dane techniczne projektu

Powierzchnie i wymiary Powierzchnie i wymiary

Powierzchnia użytkowa
Tooltip
Suma powierzchni wszystkich pomieszczeń mieszkalnych, pomniejszona o pow. garażu, kotłowni, strychu, piwnicy. Jest liczona w 100% dla pomieszczeń o wysokości powyżej 2,2 m, w 50% dla pomieszczeń o wys. 2,2-1,4 m i niewliczana dla niższych niż 1,4 m.

188,80 m²

Powierzchnia zabudowy
Tooltip
Powierzchnia zajmowana przez część na- oraz nadziemną budynku liczona, jako rzut pionowy budynku na działkę.

199,70 m²

Powierzchnia netto
Tooltip
Powierzchna wszystkich pomieszczeń w budynku mierzona na wysokości podłogi.

231,70 m²

Powierzchnia dachu

256 m²

Kąt nachylenia dachu
Tooltip
Nachylenie połaci dachu głównego podawane w stopniach. Uwaga! W niektórych projektach występuje więcej niż jedno nachylenie dachu.

22°

Wysokość budynku
Tooltip
Wysokość liczona od części budynku położonej najniżej przy powierzchni terenu do najwyższego punktu dachu (kalenicy) z wyłączeniem kominów.

9 m

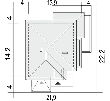
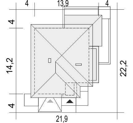
Szerokość elewacji

13,90 m

Długość elewacji

14,20 m

Min. szerokość działki
Tooltip
Najmniejsza możliwa szerokość działki niezbędna do wybudowania wybranego domu. Składa się z szerokości elewacji domu powiększonej z obu stron o 3 m dla ściany bez otworów drzwiowych/okiennych lub 4 m, dla ściany z otworami.

21,90 m

Min. długość działki
Tooltip
Najmniejsza możliwa długość działki niezbędna do wybudowania wybranego domu. Składa się z długości elewacji domu powiększonej z obu stron o 3 m dla ściany bez otworów drzwiowych/okiennych lub 4 m, dla ściany z otworami.

22,20 m

Energooszczędność Energooszczędność

Oze Czym jest OZE (Odnawialne Źródło Energii)?
Ep
Tooltip
Energia pierwotna określa ilość energii nieodnawialnej potrzebnej w ciągu roku do ogrzewania czy też ogrzania wody użytkowej z uwzględnieniem kosztów produkcji i transportu surowców energetycznych.

50,09 kWh/(m²rok)

Ogrzewanie główne

Paliwo stałe (OZE) - szczegóły

Interesuje Cię inne źródło ogrzewania? Wyślij zapytanie lub zadzwoń do doradcy

Wentylacja

Grawitacyjna - szczegóły

Instalacje w projekcie

Ogrzewanie kominkowe z płaszczem wodnym

Warunki techniczne

Projekt zgody z WT 2021

Technologia i konstrukcja Technologia i konstrukcja

Konstrukcja

Murowana

PROJEKT Z BUDOWĄ Istnieje możliwość zaadaptowania tego projektu do technologii prefabrykowanej/modułowej i budowy nawet w 6 miesięcy ze stałym kosztem budowy

Dowiedz się więcej »
Opis szczegółowy

Fundamenty: betonowe. Ściany zewnętrzne: porotherm+styropian termo organika. Strop na parterem: żelbetowy. Strop nad piętrem i konstrukcja dachu: wiązary prefabrykowane Mitek. Elewacje: tynk strukturalny. Pokrycie dachu: dachówka cementowa lub ceramiczna.

Strop

Wiązary

Reklama
Okna i drzwi tarasowe

Nowoczesne okna PVC i aluminiowe WIŚNIOWSKI – doskonała izolacja, elegancki design i niezrównana trwałość.

Wiśniowski
Sprawdź parametry!
Okna dachowe

Oferujemy bezpłatne konsultacje w zakresie wszystkich rozwiązań VELUX. Wyceny, porady dotyczące doboru okien i rolet zewnętrznych - sprawdź!

Velux
Sprawdź szczegóły
Pompa ciepła

Wybierz pompę ciepła, która pasuje do Twojego domu. Niezależnie od tego, czy ustawienie wewnątrz czy na zewnątrz, pompy ciepła STIEBEL ELTRON dopasują się do każdej przestrzeni.

Stiebel
Dobierz pompę ciepła
Drzwi

Ciepłe drzwi WIŚNIOWSKI z kontrolą dostępu. Szeroka gama wzorów i kolorów.

Wiśniowski
Wybierz najlepsze
Bramy garażowe

Automatyczne bramy garażowe segmentowe i uchylne WIŚNIOWSKI na wymiar i z systemem smart home w standardzie.

Wiśniowski
Sprawdź ofertę!
Rekuperacja

Alnor - kompletny system rekuperacji. Dobierz idealne rozwiązanie dla Twojego domu!

Alnor
Dobierz rekuperator
Dach

Producent stalowych pokryć dachowych i systemów elewacyjnych. Precyzja wykonania, trwałość na lata i szybki montaż doceniany przez dekarzy. Postaw na solidny dach Budmat.

Budmat
Sprawdź ofertę
Ogrodzenie

Nowoczesne stalowe ogrodzenia Budmat - estetyka, bezpieczeństwo i trwałość na lata. Systemowe rozwiązania na wymiar, dopasowane do każdego domu.

Budmat
Sprawdź ofertę

Gotowe domy - najszybszy sposób na dom (115)

Zobacz wszystkie
  • Stan deweloperski nawet w 6 miesięcy
  • Gwarancja stałej ceny
Skonfiguruj dom
Zdjęcie 1 projektu Bergen 130 HUS1002
130,40 m²
4
Stan deweloperski brutto
529 000 zł 4 057 zł/m²
Zdjęcie 1 projektu Dom prefabrykowany P.12 z okapem HPK1021
190,98 m²
5
Stan deweloperski brutto
916 500 zł 4 799 zł/m²
Zdjęcie 1 projektu Dom prefabrykowany P.12 bez okapu HPK1020
190,98 m²
5
Stan deweloperski brutto
886 500 zł 4 642 zł/m²
Zdjęcie 1 projektu Dom prefabrykowany P.6 HPK1005
176,69 m²
4
Stan deweloperski brutto
972 700 zł 5 505 zł/m²
Zdjęcie 1 projektu Dom prefabrykowany Stodoła 170A HFX1049
175,42 m²
3
Stan deweloperski brutto
650 000 zł 3 705 zł/m²
Zdjęcie 1 projektu Dom prefabrykowany Stodoła 170B HFX1050
175,12 m²
4
Stan deweloperski brutto
650 000 zł 3 712 zł/m²
Zdjęcie 1 projektu Dom szkieletowy Viking Smart 220 HHT1032
163,86 m²
4
Stan deweloperski brutto
1 095 606 zł 6 686 zł/m²
Zdjęcie 1 projektu Dom prefabrykowany DH174 HDH1009
162,97 m²
4
Stan deweloperski brutto
1 026 000 zł 6 296 zł/m²

Dodatki do projektu

Dodatki możesz zamówić w koszyku lub telefonicznie u naszego Doradcy.

Ikona

Bestseller

Kosztorys – stan wykończony

861 zł

540 zł

Cena przy zakupie z projektem

Ikona

Bestseller

Kosztorys - stan surowy zamknięty

861 zł

440 zł

Cena przy zakupie z projektem

Ikona

Bestseller

Dodatkowy egzemplarz projektu

921 zł

Ikona

Elektroniczna wersja projektu

700 zł

Opis projektu domu
Willa sosnowa z garażem 2-st. [A]

DomProjekt domu Willa sosnowa z garażem 2-st. [A]

To nowoczesna, piętrowa willa z dwustanowiskowym garażem wkomponowanym w bryłę budynku, zaprojektowana z myślą o komforcie cztero- lub pięcioosobowej rodziny. Projekt łączy reprezentacyjny charakter z funkcjonalnością, oferując przestronne i doskonale doświetlone wnętrza idealne dla tych, którzy cenią sobie współczesny design i wygodę na co dzień.

WyróżnieniaCo wyróżnia ten dom?

  • Wysoki salon z antresolą – tworzy spektakularną, otwartą przestrzeń dzienną na dwie kondygnacje, która robi wrażenie, optycznie powiększa wnętrze i integruje domowników.
  • Główny apartament na piętrze – prywatna sypialnia z własną łazienką i garderobą to komfortowa strefa odpoczynku, która zapewnia gospodarzom intymność i wygodę.
  • Dodatkowy pokój na parterze – idealne miejsce na gabinet do pracy zdalnej, pokój dla gości lub cichą bibliotekę, zlokalizowany tuż obok łazienki.
  • Nowoczesna kuchnia z narożnym oknem – panoramiczny widok i doskonałe doświetlenie blatu roboczego sprawiają, że gotowanie staje się prawdziwą przyjemnością.
  • Zadaszony taras – praktyczny podcień tworzy przytulne miejsce do relaksu na świeżym powietrzu, z którego można korzystać niezależnie od pogody.

ArchitekturaArchitektura i wygląd

Projekt charakteryzuje się nowoczesną, rozłożystą bryłą z dwustanowiskowym garażem zgrabnie wkomponowanym w jej linię. Wielospadowy dach z klasycznym okapem nadaje budynkowi elegancki i ponadczasowy wygląd. Charakterystycznym elementem jest zadaszenie tarasu w formie podcienia, które nie tylko urozmaica elewację, ale także tworzy funkcjonalną strefę wypoczynkową. Duże przeszklenia, w tym efektowne okno narożne w kuchni, zapewniają doskonałe doświetlenie wnętrz i otwierają dom na otaczający go ogród.

WnętrzeWnętrze i układ funkcjonalny

Dom oferuje 188,8 m² starannie zaplanowanej powierzchni użytkowej. W jej ramach wydzielono cztery pokoje oraz dwie komfortowe łazienki, tworząc przemyślany układ funkcjonalny z wyraźnym podziałem na strefę dzienną na parterze i prywatną na piętrze.

Parter – strefa dzienna

Serce domu stanowi imponująca, otwarta strefa dzienna, w której wysoki salon z kominkiem płynnie łączy się z jadalnią i kuchnią. Funkcjonalność kuchni podnosi przylegająca do niej spiżarnia, a narożne okno gwarantuje doskonałe oświetlenie miejsca pracy. Na parterze zlokalizowano również dodatkowy, ustawny pokój, który może pełnić funkcję gabinetu lub sypialni dla gości, zwłaszcza że w pobliżu znajduje się łazienka. Program uzupełniają wiatrołap z miejscem na garderobę, pomieszczenie gospodarcze, kotłownia oraz bezpośrednie przejście do dwustanowiskowego garażu.

Piętro – strefa nocna

Piętro to prywatna strefa domowników, zaprojektowana z myślą o maksymalnym komforcie. Znajduje się tu luksusowy apartament główny, składający się z sypialni, osobnej garderoby i prywatnej łazienki. Otwarta przestrzeń nad salonem tworzy efektowną antresolę, która może służyć jako kącik do czytania lub miejsce do pracy. Pozostałe pokoje zapewniają wygodne warunki do snu i nauki lub mogą zostać zaaranżowane według indywidualnych potrzeb rodziny. Na tej kondygnacji znajduje się również ogólnodostępna łazienka oraz dodatkowe pomieszczenie gospodarcze.

Czytaj więcej

Polecani producenci

Kompletne systemy rekuperacji

tło producenta

Alnor

Dowiedz się więcej

Dachy modułowe ze stali

tło producenta

Budmat

Poznaj szczegóły oferty

Prefabrykowane konstrukcje dachowe

tło producenta

WIĄZAR POLSKA

Zobacz więcej
Zobacz więcej

Społeczność projektu domu
Willa sosnowa z garażem 2-st. [A] w budowie

Dołącz do społeczności osób, które budują ten dom lub są zainteresowane jego budową.

  • Oglądaj zdjęcia z budowy
  • Zadawaj pytania
  • Wymieniaj się doświadczeniami

Opinie o projekcie domu
Willa sosnowa z garażem 2-st. [A]

Opinie niezweryfikowane

Bądź pierwszy!
Ten projekt nie ma jeszcze opinii, bądź pierwszy!

ikona Dodaj opinię o projekcie

ASYSTENT WYBORU PROJEKTU

Szukasz idealnego projektu? Znajdziemy go dla Ciebie!

Doradca na podstawie Twoich wskazówek przygotuje spersonalizowaną listę projektów

Graficzne opracowanie rzutów poglądowych widocznych na karcie projektu zostało wykonane przez Extradom.pl. Prezentowane przez Extradom.pl wizualizacje wykonane zostały przez autora projektu i należy poczytywać je jedynie za przykład i propozycję wykończenia, wizję architektoniczną autora projektu. Ostateczne wykończenie budynku może nastąpić na wiele sposobów. Szczegółowe rozwiązania zastosowane w oferowanej dokumentacji - w tym również ilość, lokalizacje i wygląd okien, drzwi, kominów - mogą w niewielkim stopniu różnić się od prezentowanej wizualizacji budynku.

Extradom.pl Spółka z ograniczoną odpowiedzialnością z siedzibą przy ul. Jaworskiej 13, 53-612 Wrocław, wpisana do rejestru przedsiębiorców Krajowego Rejestru Sądowego przez Sąd Rejonowy dla Wrocławia-Fabrycznej we Wrocławiu, VI Wydział Gospodarczy Krajowego Rejestru Sądowego do pod numerem KRS 0000648746, numer NIP 895-17-18-333, o kapitale zakładowym 708 150,00 zł uprzejmie informuje, iż poprzez serwis Extradom.pl umożliwia m.in. zapoznanie się przez konsumentów z ofertą handlową Partnerów Extradom.pl, którzy stosują metody budowy domów przy wykorzystaniu różnego rodzaju technologie prefabrykacji bądź modułowe (tzw. „Gotowe domy”).

Extradom.pl nie prowadzi jednakże sprzedaży ani nie oferuje usług polegających na doradztwie finansowym, prawnym ani podatkowym w zakresie inwestycji realizowanych w technologiach tzw. „Gotowych domów”. Informacje prezentowane w serwisie Extradom.pl dotyczące Partnerów Extradom.pl oferujących realizację inwestycji w technologiach „Gotowych domów” lub podobnych mają charakter informacyjny i reklamowy.

Prezentowane w serwisie Extradom.pl informacje dotyczące stosowanych przez Partnerów metod budowy domów w technologii prefabrykacji bądź modułowej pochodzą od Partnerów Extradom.pl.

Extradom.pl sp. z o.o. jedynie umożliwia nawiązanie kontaktu przez Użytkownika z Partnerem Extradom.pl stosującym tego rodzaju technologie budowy domów i nie jest stroną umowy o roboty budowlane zawieranej przez Użytkownika Extradom.pl z Partnerem Extradom.pl.

REKLAMA
Zamknij