👉 Wiosenne rabaty + karta allegro 200 zł! 🔥

Koniec oferty za:

00godz.

00min.

00sek.

Sprawdź

Projekt domu Kaja II z garażem 1-st. [A] WRF2070

Zapisz Dodano!
Porównaj Dodano!
ikona Pobierz i drukuj
Dodaj opinię

Warstwy

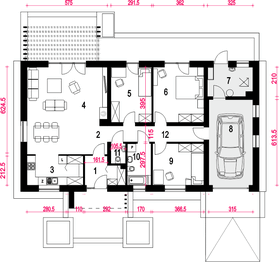
Rzut parteru

Powierzchnia (m²)
Tooltip
Powierzchnia pomieszczenia
to ta, z której faktycznie możesz korzystać – skosy i niskie części poddasza są liczone częściowo lub wcale.
  1. 100% dla wysokości powyżej 2,2 m,
  2. 50% dla wysokości 1,4–2,2 m,
  3. nie liczymy poniżej 1,4 m.

Powierzchnia podłogi
Liczymy po obrysie pomieszczenia, bez względu na jego wysokość/skosy. Jeśli nie ma skosów to powierzchnia podłogi i pomieszczenia jest taka sama.
pomieszczenia i podłogi
podłogi
1. Wiatrołap
5,10
2. Hall
3,30
3. Kuchnia + spiżarnia
8,50
4. Pokój dzienny + jadalnia
32
5. Pokój
11,30
6. Pokój
14,10
7. Kotłownia
6,50
8. Garaż jednostanowiskowy
19,10
9. Pokój
10,70
10. Łazienka
4,90
11. Wc
1,50
12. Korytarz
7,70
Razem
124,70
124,70

    Usytuowanie na działce

    Czy ten projekt pasuje na
    Twoją działkę?

    Chętnie to sprawdzimy!

    Dowiedz się:

    • czy zmieści się na niej wybrany przez Ciebie dom
    • jakie parametry musi spełniać dom według miejscowego planu zagospodarowania lub warunków zabudowy (np. kąt nachylenia i typ dachu, liczba kondygnacji itp.
    • jakie inne projekty pasują na Twoją działkę – znajdziemy je dla Ciebie!

Pow. użytkowa

99,10 m²

Pokoje

3

Łazienki i WC

2

Garaż

1

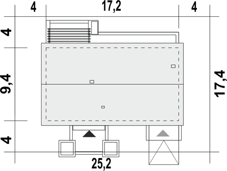
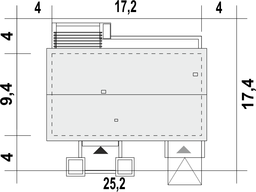
Min. szer. i dł. działki

25,2 x 17,20 m

Kąt dachu

30°

Szacunkowy koszt SSZ

279 000 zł
Szacunkowy koszt budowy do stanu surowego zamkniętego (SSZ) metodą gospodarczą - większość prac wykonuje inwestor.

Konstrukcja

Murowana
więcej
Zapisz Dodano!
Porównaj Dodano!
ikona Pobierz i drukuj

Kaja II z garażem 1-st. [A] - WRF2070

ikona 99,10 m²
Powierzchnia użytkowa
ikona3
Pokoje (bez salonu)
ikona 2
Łazienki (z toaletami)
ikona 1
Liczba stanowisk garażowych
(z wiatą garażową)
ikona
Konstrukcja: Murowana

4 840 zł

Projekt jest dostępny

Gwarancja najniższej ceny
ikona
Darmowa dostawa
Paczkomaty, kurier
ikona
100 dni na wymianę,
30 dni na zwrot
ikona Zyskaj najwięcej! Extradodatki GRATIS:

15% rabatu do LEROY MERLIN

10% rabatu w CASTORAMIE

16% rabatu w SELSEY

Pakiet Formalności 2026

Przydatne Extradodatki

Poradnik Dach Solarny

ikona Co zawiera projekt?
  • Projekt zgodny z WT2021
  • Bezpłatne pozwolenie na zmiany
  • Charakterystyka energetyczna
Konsultant
71 715 20 60

pon.-pt. 8-21, sob. 9-17

Szukasz wykonawcy godnego zaufania?
Zleć budowę w Extradom.pl!

  • Z góry znasz koszt budowy domu
  • Dom odbierasz zgodnie z ustalonym harmonogramem - nawet w 6 miesięcy
  • Zabezpiecza Cię jedna kompleksowa umowa z jednym wykonawcą
  • Otrzymujesz nawet 30-letnią gwarancję na konstrukcję domu
  • Oszczędzasz swój czas dzięki pewnej i kompletnej usłudze
  • Odbiór techniczny GRATIS - Gwarantujemy najwyższą jakość
Cena brutto stanu
deweloperskiego od
Tooltip
Cena brutto stanu deweloperskiego od 4 529 do 5 829 zł/m2.
Cena jest uzależniona m.in. od lokalizacji, wybranej technologii, kubatury budynku, skomplikowania projektu i ewentualnych zmian, na które zdecyduje się inwestor.
Cena za m2 powierzchni netto, czyli wszystkich pomieszczeń mierzonych na wysokości podłogi.
4 529 zł/m2
Dowiedz się więcej
Konsultant Masz pytania?
Zadzwoń
71 715 20 09

pon.-pt. 8-19

Parter - 124,70 m²

Parter projektu Kaja II z garażem 1-st. [A]

Zapytaj, co możesz zmienić

Powierzchnia (m²)
Tooltip
Powierzchnia pomieszczenia
to ta, z której faktycznie możesz korzystać – skosy i niskie części poddasza są liczone częściowo lub wcale.
  1. 100% dla wysokości powyżej 2,2 m,
  2. 50% dla wysokości 1,4–2,2 m,
  3. nie liczymy poniżej 1,4 m.

Powierzchnia podłogi
Liczymy po obrysie pomieszczenia, bez względu na jego wysokość/skosy. Jeśli nie ma skosów to powierzchnia podłogi i pomieszczenia jest taka sama.
pomieszczenia i podłogi
podłogi
1. Wiatrołap
5,10
2. Hall
3,30
3. Kuchnia + spiżarnia
8,50
4. Pokój dzienny + jadalnia
32
5. Pokój
11,30
6. Pokój
14,10
7. Kotłownia
6,50
8. Garaż jednostanowiskowy
19,10
9. Pokój
10,70
10. Łazienka
4,90
11. Wc
1,50
12. Korytarz
7,70
Razem
124,70
124,70

Natychmiast, otrzymasz PDF-y
z rzutami wszystkich kondygnacji

Zamów rysunki szczegółowe

Zapoznaj się ze szczegółowymi rysunkami rzutów kondygnacji w PDF dla tego projektu.

Warianty projektu (1)

Projekt domu Kaja z garażem 1-st. [A]
Kaja z garażem 1-st. [A]
Dodano!
Dodano!
93,90 m²
3
2
1

4 690 zł

Podobne projekty (257)

Zobacz wszystkie
NIŻSZA CENA 🔥
Zdjęcie 1 projektu Mokka 20 WOF1214
Mokka 20
Dodano!
Dodano!
89,85 m²
3
2
1

3 899 zł

4 099 zł

Tooltip

Cena regularna

3 899 zł najniższa cena
Tooltip

Najniższa cena z 30 dni
przed obniżką

NIŻSZA CENA 🔥
Zdjęcie 1 projektu Awokado 3 BSA2268
Awokado 3
Dodano!
Dodano!
107,72 m²
3
2
1

4 749 zł

5 249 zł

Tooltip

Cena regularna

4 749 zł najniższa cena
Tooltip

Najniższa cena z 30 dni
przed obniżką

Zdjęcie 1 projektu Majka II z garażem 1-st. [A] WRF2449
100,90 m²
3
2
1

4 950 zł

NIŻSZA CENA 🔥
Zdjęcie 1 projektu APS 336 wariant 2 + G LUA1509
APS 336 wariant 2 + G
Dodano!
Dodano!
99 m²
3
2
1

4 549 zł

5 099 zł

Tooltip

Cena regularna

4 349 zł najniższa cena
Tooltip

Najniższa cena z 30 dni
przed obniżką

Zdjęcie 1 projektu Simple 3 WRD2439
Simple 3
Dodano!
Dodano!
103,60 m²
3
1
1

4 200 zł

NIŻSZA CENA 🔥
Nowość
Zdjęcie 1 projektu Mokka 20 plus s2 WOF1283
Mokka 20 plus s2
Dodano!
Dodano!
99,58 m²
3
2
2

3 999 zł

4 199 zł

Tooltip

Cena regularna

3 999 zł najniższa cena
Tooltip

Najniższa cena z 30 dni
przed obniżką

NIŻSZA CENA 🔥
Zdjęcie 1 projektu Awokado 4 BSA2340
Awokado 4
Dodano!
Dodano!
102,89 m²
3
2
1

4 749 zł

5 249 zł

Tooltip

Cena regularna

4 749 zł najniższa cena
Tooltip

Najniższa cena z 30 dni
przed obniżką

NIŻSZA CENA 🔥
Zdjęcie 1 projektu Mokka 20 plus WOF1243
Mokka 20 plus
Dodano!
Dodano!
99,58 m²
3
2
1

3 899 zł

4 099 zł

Tooltip

Cena regularna

3 899 zł najniższa cena
Tooltip

Najniższa cena z 30 dni
przed obniżką

Metody i koszt budowy

Ten dom możesz budować metodą gospodarczą, systemem zleconym lub skorzystać z naszej oferty Projekt z Budową. Przy porównaniu weź pod uwagę nie tylko koszt, ale też różny zakres prac i standard wykonania.

Metoda gospodarcza

Najtańsza metoda - większość prac
budowlanych wykonuje inwestor

Stan surowy zamknięty (SSZ)

279 000 zł netto

Szacunkowy koszt materiałów na I kwartał 2026
  • Prace ziemne i fundamenty

    64 000 zł
  • Konstrukcja, strop oraz dach

    174 000 zł
  • Stolarka okienna i drzwiowa

    41 000 zł
  • Instalacje

    nie obejmuje
  • Prace wykończeniowe

    nie obejmuje
  • Możesz budować etapami, pamiętając jednak o zmianie kosztów w czasie
  • Możesz rozpocząć budowę z częścią niezbędnych środków
  • Sam ustalasz harmonogram, koordynujesz budowę i zapewniasz materiały
Czy da się obniżyć koszty budowy?
Zobacz nasz film jak obniżyć koszt budowy

Projekt z Budową

Najszybsza i najwygodniejsza metoda -
całą budowę domu realizuje jedna firma

Stan deweloperski
Gwarancja stałego kosztu budowy

Gwarancja stałego
kosztu budowy

  • Prace ziemne i fundamenty
  • Konstrukcja, strop oraz dach
  • Stolarka okienna i drzwiowa
  • Instalacje  
    Tooltip

    Obejmuje wykonanie instalacji:

    • wodno-kanalizacyjnej
    • centralnego ogrzewania
    • gazowej
    • elektrycznej
  • Prace wykończeniowe  
    Tooltip

    Prace wykończeniowe obejmują:

    • sufity i ściany wewnętrzne
    • tynki i okładziny ścian wewnętrznych
    • wylewki i posadzkę
    • ocieplenie ścian zewnętrznych i elewację

Budowa
nawet w
6mies.

  • Kompleksowa umowa i znany z góry koszt budowy
  • Logistyka, organizacja budowy i zakupy po stronie firmy budowlanej
  • Formalności i dokumentacje po stronie firmy budowlanej
  • Różne technologie budowy dopasowane do projektu i budżetu
Szczegóły i dostępne technologie

Elewacje

Frontowa
Tylna
Lewa
Prawa

Przekroje

Przekrój pionowy

Usytuowanie na działce

Czy ten projekt pasuje na
Twoją działkę?

Chętnie to sprawdzimy!

Czy ten projekt pasuje na
Twoją działkę?

Chętnie to sprawdzimy!

Dowiedz się:

  • czy zmieści się na niej wybrany przez Ciebie dom
  • jakie parametry musi spełniać dom według miejscowego planu zagospodarowania lub warunków zabudowy (np. kąt nachylenia i typ dachu, liczba kondygnacji itp.
  • jakie inne projekty pasują na Twoją działkę – znajdziemy je dla Ciebie!
Autor: Archeco Dom dla Ciebie

Dane techniczne projektu

Powierzchnie i wymiary Powierzchnie i wymiary

Powierzchnia użytkowa
Tooltip
Suma powierzchni wszystkich pomieszczeń mieszkalnych, pomniejszona o pow. garażu, kotłowni, strychu, piwnicy. Jest liczona w 100% dla pomieszczeń o wysokości powyżej 2,2 m, w 50% dla pomieszczeń o wys. 2,2-1,4 m i niewliczana dla niższych niż 1,4 m.

99,10 m²

Powierzchnia zabudowy
Tooltip
Powierzchnia zajmowana przez część na- oraz nadziemną budynku liczona, jako rzut pionowy budynku na działkę.

160,20 m²

Powierzchnia netto
Tooltip
Powierzchna wszystkich pomieszczeń w budynku mierzona na wysokości podłogi.

124,70 m²

Kubatura brutto
Tooltip
Zazwyczaj jest to suma kubatur (objętości) wszystkich pomieszczeń budynku, liczonych po zewnętrznym obrysie murów (z ociepleniem).

285 m³

Powierzchnia dachu

219 m²

Kąt nachylenia dachu
Tooltip
Nachylenie połaci dachu głównego podawane w stopniach. Uwaga! W niektórych projektach występuje więcej niż jedno nachylenie dachu.

30°

Wysokość budynku
Tooltip
Wysokość liczona od części budynku położonej najniżej przy powierzchni terenu do najwyższego punktu dachu (kalenicy) z wyłączeniem kominów.

6,20 m

Szerokość elewacji

17,20 m

Długość elewacji

9,40 m

Min. szerokość działki
Tooltip
Najmniejsza możliwa szerokość działki niezbędna do wybudowania wybranego domu. Składa się z szerokości elewacji domu powiększonej z obu stron o 3 m dla ściany bez otworów drzwiowych/okiennych lub 4 m, dla ściany z otworami.

25,20 m

Min. długość działki
Tooltip
Najmniejsza możliwa długość działki niezbędna do wybudowania wybranego domu. Składa się z długości elewacji domu powiększonej z obu stron o 3 m dla ściany bez otworów drzwiowych/okiennych lub 4 m, dla ściany z otworami.

17,20 m

Energooszczędność Energooszczędność

Oze Czym jest OZE (Odnawialne Źródło Energii)?
Ep
Tooltip
Energia pierwotna określa ilość energii nieodnawialnej potrzebnej w ciągu roku do ogrzewania czy też ogrzania wody użytkowej z uwzględnieniem kosztów produkcji i transportu surowców energetycznych.

36,53 kWh/(m²rok)

Ogrzewanie główne

Paliwo stałe (OZE) - szczegóły

Interesuje Cię inne źródło ogrzewania? Wyślij zapytanie lub zadzwoń do doradcy

Wentylacja

Grawitacyjna - szczegóły

Instalacje w projekcie

Ogrzewanie kominkowe z płaszczem wodnym

Warunki techniczne

Projekt zgody z WT 2021

Technologia i konstrukcja Technologia i konstrukcja

Konstrukcja

Murowana

PROJEKT Z BUDOWĄ Istnieje możliwość zaadaptowania tego projektu do technologii prefabrykowanej/modułowej i budowy nawet w 6 miesięcy ze stałym kosztem budowy

Dowiedz się więcej »
Opis szczegółowy

Fundamenty: betonowe. Ściany: porotherm+ocieplenie. Rodzaj stropu: teriva i. Elewacje: tynk strukturalny. Pokrycie dachu: dachówka cem. lub cer.

Strop

Gęstożebrowy

Reklama
Okna i drzwi tarasowe

Nowoczesne okna PVC i aluminiowe WIŚNIOWSKI – doskonała izolacja, elegancki design i niezrównana trwałość.

Wiśniowski
Sprawdź parametry!
Okna dachowe

Oferujemy bezpłatne konsultacje w zakresie wszystkich rozwiązań VELUX. Wyceny, porady dotyczące doboru okien i rolet zewnętrznych - sprawdź!

Velux
Sprawdź szczegóły
Pompa ciepła

Wybierz pompę ciepła, która pasuje do Twojego domu. Niezależnie od tego, czy ustawienie wewnątrz czy na zewnątrz, pompy ciepła STIEBEL ELTRON dopasują się do każdej przestrzeni.

Stiebel
Dobierz pompę ciepła
Drzwi

Ciepłe drzwi WIŚNIOWSKI z kontrolą dostępu. Szeroka gama wzorów i kolorów.

Wiśniowski
Wybierz najlepsze
Bramy garażowe

Automatyczne bramy garażowe segmentowe i uchylne WIŚNIOWSKI na wymiar i z systemem smart home w standardzie.

Wiśniowski
Sprawdź ofertę!
Rekuperacja

Alnor - kompletny system rekuperacji. Dobierz idealne rozwiązanie dla Twojego domu!

Alnor
Dobierz rekuperator
Dach

Producent stalowych pokryć dachowych i systemów elewacyjnych. Precyzja wykonania, trwałość na lata i szybki montaż doceniany przez dekarzy. Postaw na solidny dach Budmat.

Budmat
Sprawdź ofertę
Ogrodzenie

Nowoczesne stalowe ogrodzenia Budmat - estetyka, bezpieczeństwo i trwałość na lata. Systemowe rozwiązania na wymiar, dopasowane do każdego domu.

Budmat
Sprawdź ofertę

Gotowe domy - najszybszy sposób na dom (115)

Zobacz wszystkie
  • Stan deweloperski nawet w 6 miesięcy
  • Gwarancja stałej ceny
Skonfiguruj dom
Zdjęcie 1 projektu Bergen 90 HUS1003
90,83 m²
3
Stan deweloperski brutto
429 000 zł 4 723 zł/m²
Zdjęcie 1 projektu Dom keramzytowy Atrakcyjna Stodoła wariant 2 HAK1000
99,22 m²
3
Stan deweloperski brutto
494 900 zł 4 988 zł/m²
Zdjęcie 1 projektu Dom prefabrykowany FastHome 100 HFX1031
99,59 m²
3
Stan deweloperski brutto
479 000 zł 4 810 zł/m²
Zdjęcie 1 projektu Dom prefabrykowany P.9 HPK1008
97,80 m²
4
Stan deweloperski brutto
555 900 zł 5 684 zł/m²
Zdjęcie 1 projektu Dom prefabrykowany Parterowy 100A HFX1036
100,55 m²
4
Stan deweloperski brutto
449 000 zł 4 465 zł/m²
Zdjęcie 1 projektu Dom prefabrykowany Parterowy 100B HFX1044
100,63 m²
3
Stan deweloperski brutto
449 000 zł 4 462 zł/m²
Zdjęcie 1 projektu Dom prefabrykowany E.3 HPK1019
97,13 m²
3
Stan deweloperski brutto
496 033 zł 5 107 zł/m²
Zdjęcie 1 projektu Dom keramzytowy Essenzia 110G HRK1002
95,83 m²
2
Stan deweloperski brutto
495 720 zł 5 173 zł/m²

Dodatki do projektu

Dodatki możesz zamówić w koszyku lub telefonicznie u naszego Doradcy.

Ikona

Bestseller

Kosztorys – stan wykończony

861 zł

540 zł

Cena przy zakupie z projektem

Ikona

Bestseller

Dodatkowy egzemplarz projektu

726 zł

Ikona

Bestseller

Elektroniczna wersja projektu

700 zł

Opis projektu domu
Kaja II z garażem 1-st. [A]

DomProjekt domu Kaja II z garażem 1-st. [A]

Projekt Kaja II z garażem 1-st. [A] to idealna propozycja dla 3- lub 4-osobowej rodziny poszukującej komfortowego, parterowego domu w tradycyjnym stylu. Prosta bryła z garażem wkomponowanym w konstrukcję budynku łączy funkcjonalność z klasyczną estetyką, oferując wszystko, co potrzebne do wygodnego życia na jednym poziomie.

WyróżnieniaCo wyróżnia ten dom?

  • Czytelny podział na strefy – Mimo parterowej konstrukcji, dom posiada wyraźnie oddzieloną strefę dzienną od części prywatnej, co zapewnia komfort i intymność wszystkim domownikom.
  • Kominek w sercu domu – Centralnie zlokalizowany kominek w salonie tworzy niepowtarzalny klimat i staje się miejscem rodzinnych spotkań w chłodniejsze wieczory.
  • Praktyczna spiżarnia przy kuchni – Bezpośrednie sąsiedztwo spiżarni i kuchni to rozwiązanie, które znacznie ułatwia organizację zapasów i utrzymanie porządku w strefie gotowania.
  • Garaż zintegrowany z domem – Jednostanowiskowy garaż w bryle budynku z praktycznym przejściem przez kotłownię do części mieszkalnej gwarantuje wygodę na co dzień, niezależnie od pogody.

ArchitekturaArchitektura i wygląd

Projekt Kaja II z garażem 1-st. [A] to dom parterowy o zwartej, prostej bryle przykrytej klasycznym dachem dwuspadowym. Taka konstrukcja jest sprawdzonym i ekonomicznym w realizacji rozwiązaniem. Tradycyjny styl budynku podkreśla jego ponadczasowy charakter, dzięki czemu doskonale wkomponuje się w każde otoczenie. Jednostanowiskowy garaż został zgrabnie włączony w bryłę, tworząc spójną i harmonijną całość. Z salonu przewidziano wyjście na taras, który naturalnie powiększa strefę wypoczynkową i łączy dom z ogrodem.

WnętrzeWnętrze i układ funkcjonalny

Dom oferuje 99,1 m² przemyślanej powierzchni użytkowej, na której zaaranżowano 3 pokoje, łazienkę oraz dodatkowe WC. Układ funkcjonalny został zaprojektowany z myślą o maksymalnej wygodzie i logicznym podziale przestrzeni na strefy o różnym przeznaczeniu.

Parter – strefa dzienna i nocna

Po wejściu do domu przez wiatrołap znajdujemy się w holu, który prowadzi do serca domu – otwartej strefy dziennej. Składa się na nią przestronny salon z jadalnią, którego centralnym punktem jest kominek, oraz wygodna, otwarta kuchnia z bezpośrednim dostępem do praktycznej spiżarni. Z salonu można wyjść bezpośrednio na taras, ciesząc się bliskością ogrodu.

W dalszej części domu, oddzielonej korytarzem, znajduje się strefa prywatna. Zaprojektowano tu komfortowy pokój, który może pełnić funkcję sypialni, oraz łazienkę i osobne WC. Funkcjonalność domu podnosi również strefa gospodarcza, na którą składa się garaż oraz kotłownia, zapewniająca wygodne przejście do części mieszkalnej.

Czytaj więcej

Polecani producenci

Kompletne systemy rekuperacji

tło producenta

Alnor

Dowiedz się więcej

Dachy modułowe ze stali

tło producenta

Budmat

Poznaj szczegóły oferty

Prefabrykowane konstrukcje dachowe

tło producenta

WIĄZAR POLSKA

Zobacz więcej
Zobacz więcej

Społeczność projektu domu
Kaja II z garażem 1-st. [A] w budowie

Dołącz do społeczności osób, które budują ten dom lub są zainteresowane jego budową.

  • Oglądaj zdjęcia z budowy
  • Zadawaj pytania
  • Wymieniaj się doświadczeniami

Opinie o projekcie domu
Kaja II z garażem 1-st. [A]

Opinie niezweryfikowane

Bądź pierwszy!
Ten projekt nie ma jeszcze opinii, bądź pierwszy!

ikona Dodaj opinię o projekcie

ASYSTENT WYBORU PROJEKTU

Szukasz idealnego projektu? Znajdziemy go dla Ciebie!

Doradca na podstawie Twoich wskazówek przygotuje spersonalizowaną listę projektów

Graficzne opracowanie rzutów poglądowych widocznych na karcie projektu zostało wykonane przez Extradom.pl. Prezentowane przez Extradom.pl wizualizacje wykonane zostały przez autora projektu i należy poczytywać je jedynie za przykład i propozycję wykończenia, wizję architektoniczną autora projektu. Ostateczne wykończenie budynku może nastąpić na wiele sposobów. Szczegółowe rozwiązania zastosowane w oferowanej dokumentacji - w tym również ilość, lokalizacje i wygląd okien, drzwi, kominów - mogą w niewielkim stopniu różnić się od prezentowanej wizualizacji budynku.

Extradom.pl Spółka z ograniczoną odpowiedzialnością z siedzibą przy ul. Jaworskiej 13, 53-612 Wrocław, wpisana do rejestru przedsiębiorców Krajowego Rejestru Sądowego przez Sąd Rejonowy dla Wrocławia-Fabrycznej we Wrocławiu, VI Wydział Gospodarczy Krajowego Rejestru Sądowego do pod numerem KRS 0000648746, numer NIP 895-17-18-333, o kapitale zakładowym 708 150,00 zł uprzejmie informuje, iż poprzez serwis Extradom.pl umożliwia m.in. zapoznanie się przez konsumentów z ofertą handlową Partnerów Extradom.pl, którzy stosują metody budowy domów przy wykorzystaniu różnego rodzaju technologie prefabrykacji bądź modułowe (tzw. „Gotowe domy”).

Extradom.pl nie prowadzi jednakże sprzedaży ani nie oferuje usług polegających na doradztwie finansowym, prawnym ani podatkowym w zakresie inwestycji realizowanych w technologiach tzw. „Gotowych domów”. Informacje prezentowane w serwisie Extradom.pl dotyczące Partnerów Extradom.pl oferujących realizację inwestycji w technologiach „Gotowych domów” lub podobnych mają charakter informacyjny i reklamowy.

Prezentowane w serwisie Extradom.pl informacje dotyczące stosowanych przez Partnerów metod budowy domów w technologii prefabrykacji bądź modułowej pochodzą od Partnerów Extradom.pl.

Extradom.pl sp. z o.o. jedynie umożliwia nawiązanie kontaktu przez Użytkownika z Partnerem Extradom.pl stosującym tego rodzaju technologie budowy domów i nie jest stroną umowy o roboty budowlane zawieranej przez Użytkownika Extradom.pl z Partnerem Extradom.pl.

REKLAMA
Zamknij